气铲原理图解

c6b风铲直柄式 手持式风铲铸件清砂石气铲 铲刹车片铸件清砂
图片尺寸750x750
厂家直销 精品义乌牌气镐 专业气动工具 g15yf 气镐
图片尺寸1357x1920
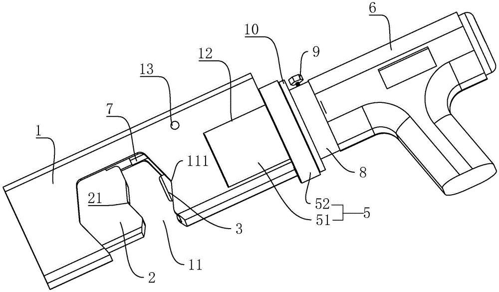
一种枪式气动铲的制作方法
图片尺寸526x713
气铲的制作方法
图片尺寸1000x365
p2531 pro大功率气铲
图片尺寸1053x614
美国cp芝加哥气动工具 cp717 气动铲 t020120 气铲 风铲
图片尺寸531x589
气焊原理:利用可燃气体与助燃气体混合燃烧后,产生的高温火焰对金属
图片尺寸626x509
一种具有消音功能的气铲的制作方法
图片尺寸728x1000
气割时突然遭遇"回火",你会怎么处理?
图片尺寸1080x312
一种通过气铲原理实现锈死螺纹松动的工具
图片尺寸1000x585
shz-4185气铲
图片尺寸650x455
juboo巨柏cz2直式气铲黄色风铲钎铲刀头强力小风镐除焊渣气动铲
图片尺寸800x1400
07铲运机ppt
图片尺寸920x690
淄博市博山万通机械厂-汽粉机_05
图片尺寸750x526
一种通过气铲原理实现锈死螺纹松动的工具的制作方法
图片尺寸1000x588
优浩圣气铲/气锹型号 气动空气锤 气锤敲击振动冲击气动锤小型敲击锤
图片尺寸700x2000
气动敲击锤助流破拱器架桥下料空气锤震动防堵气锤sk-30/40/60/80
图片尺寸790x805
气动敲击锤 空气锤ah-sk-zc-sx302f402f602f80气动敲击锤 冲击空气锤
图片尺寸790x915
气刀原理图
图片尺寸577x394
气焊原理:利用可燃气体与助燃气体混合燃烧后,产生的高温火焰对金属
图片尺寸779x507