气门芯尺寸图

适用于汽车空调气门芯全r134a高压r12低压别克宝马现代富康雪铁龙气针
图片尺寸800x705
也是我们平时最容易忽略掉的"气门嘴帽",气门嘴帽作为轮胎汽门芯的
图片尺寸660x1037
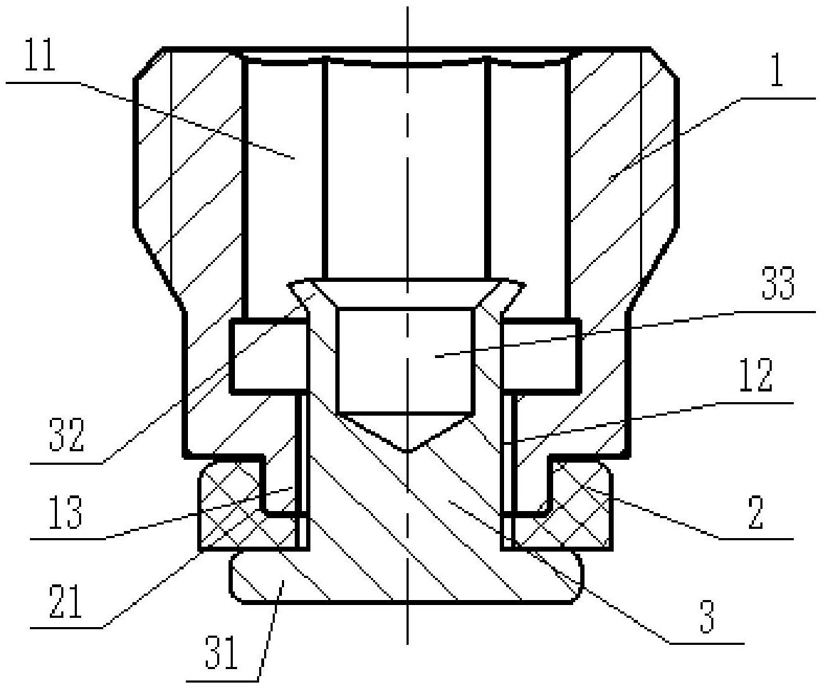
气门芯结构型式及尺寸 tc1型气门芯结构型式及尺寸见图1.2.标记示例1.
图片尺寸640x318
gbt179632008轮胎气门嘴第3部分卡扣式气门嘴
图片尺寸639x911
汽车空调134a气门芯快排阀空调管路充注阀高压阀芯针耐高压耐高压
图片尺寸1440x1920
进口气动球阀尺寸
图片尺寸1222x1718
一种气门芯及氮气弹簧-爱企查
图片尺寸1156x968
相关推荐 汽车真空胎气门嘴轮胎气嘴真空嘴橡胶嘴带气门芯 1 1
图片尺寸650x572
展商推荐高密同创气门芯有限公司诚邀您参加2019上海国际车用空调展
图片尺寸1080x737
cn2070851u_多功能气门失效
图片尺寸1215x2000
cn2088627u_机动车充气气门嘴失效
图片尺寸1600x2119
气门嘴tr570
图片尺寸577x677
一种不漏气气门嘴,由气门外管,气门芯,气门芯外管,气门芯固定帽组成
图片尺寸1536x1184
适用:摩托车 材质:铝合金 天然橡胶(包括气门芯和帽) 底部尺寸:小号
图片尺寸800x800
1pcs奔驰 宝马 大众 速腾 迈腾 途观汽车空调气门芯 紫色
图片尺寸800x800
超薄型气动球阀 尺寸图
图片尺寸227x350
tda10双杆出双轴气缸tn10*32-25x 20/10/30/40/50/60/75/80/100-s
图片尺寸790x1066
自行车轮胎气嘴类型详解_气门芯_打气筒_充气
图片尺寸800x533
气门芯扳手气门钥匙汽车轮胎电动车气门嘴帽自行车气门芯开关包邮
图片尺寸750x500
自行车轮胎气嘴类型详解_气门芯_打气筒_充气
图片尺寸800x533