氧化塘示意图

生物氧化塘示意图
图片尺寸640x389
氧化塘污水处理技术的应用
图片尺寸1030x368
好氧塘工作原理示意图 环境生物学技术
图片尺寸1080x810
a3-生物接触氧化池图
图片尺寸819x579
氧化塘增容净化装置
图片尺寸605x375
a3-生物接触氧化图
图片尺寸820x574
a1-水解酸化和生物接触氧化池
图片尺寸820x579
氧化塘实现净化污水的原理主要是利用细菌和藻类寄生关系来分解有机
图片尺寸391x210
氧化塘污水处理技术的发展及应用现状.pdf 16页
图片尺寸972x729
为净化富含np的生活污水某城市根据生态学原理构建了几个串联的氧化塘
图片尺寸356x107
氧化塘建设
图片尺寸1300x616
a3-生物接触氧化池
图片尺寸820x581
接触氧化池基本构造图_哔哩哔哩 (゜-゜)つロ 干杯~-bilibili
图片尺寸548x400
人工湿地氧化塘设计图纸
图片尺寸649x479
a3-生物接触氧化池
图片尺寸818x578
人工湿地-氧化塘工艺流程图
图片尺寸600x238
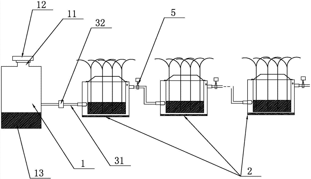
一种用于净化污水的氧化塘装置
图片尺寸1000x577
敞开式污水处理池塘(即氧化塘)
图片尺寸342x197
a3-生物接触氧化池
图片尺寸820x579
4 uasb_sbr_氧化塘工艺处理养猪废水
图片尺寸1024x482