氧气瓶结构图

所有分类 工程科技 机械/仪表 气焊电焊安全操作培训ppt 氧气瓶结构
图片尺寸1080x810
其各部件基本结构如下——气瓶结构看来,气瓶虽小,但暗藏危机!
图片尺寸1080x737
气瓶结构
图片尺寸460x520
(3)氧气瓶
图片尺寸576x1000
气瓶知识安全培训ppt
图片尺寸1080x810
氧气瓶结构
图片尺寸239x300
氧气筒为柱形无缝筒的介绍及组成部分
图片尺寸467x331
气瓶的结构
图片尺寸600x589
钢瓶- 热门商品专区
图片尺寸1242x1420
日照液化石油气瓶智能充装智慧监管现场观摩会莅临开源液化气有限公司
图片尺寸952x952
氧气瓶阀的结构及作用,常用气瓶的构造_挂云帆
图片尺寸596x419
氧气瓶飞完,乙炔瓶飞.
图片尺寸640x480
气瓶结构
图片尺寸529x535
一种二氧化碳气瓶
图片尺寸892x1023
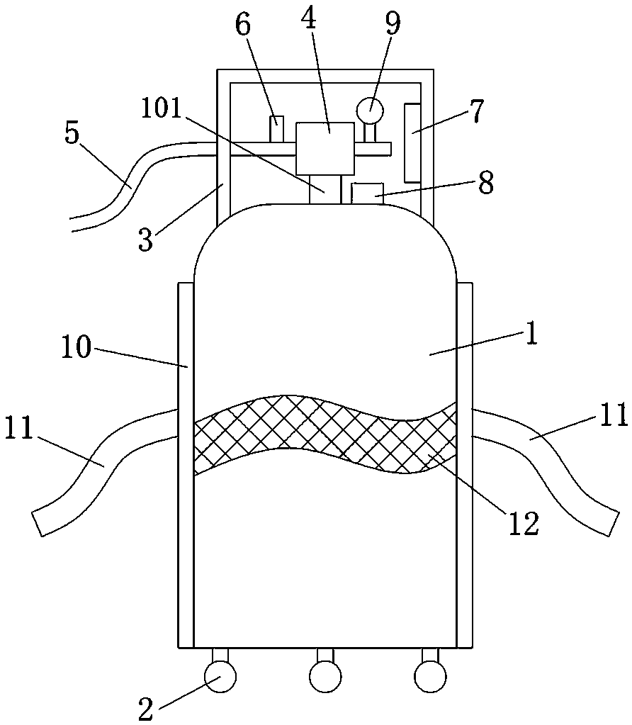
一种放置稳定的内科用氧气瓶制造技术
图片尺寸645x1000
氧气瓶阀的结构及作用,常用气瓶的构造_挂云帆
图片尺寸357x422
简笔画氧气瓶
图片尺寸400x300
即15mpa,氧气瓶瓶体和瓶帽是表面涂有蓝色油漆的钢制瓶体,结构由瓶帽
图片尺寸550x456
一种可调节温度带加热的氧气湿化瓶的制作方法
图片尺寸713x1000
氧气瓶阀的结构及作用,常用气瓶的构造_挂云帆
图片尺寸248x477