氩弧焊焊的立焊手法图

二板的钨极氩弧焊操作技巧
图片尺寸665x391
气保焊立焊的摆动手法你会几种?
图片尺寸660x371
ipc j-std-001d手工焊接标准培训教材20130808ppt
图片尺寸1080x810
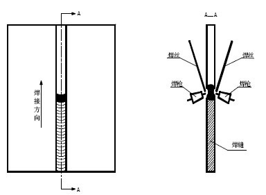
立焊
图片尺寸755x400
努力学技术 学立焊焊接方法
图片尺寸3036x2612
对接立焊技术简明焊工手册
图片尺寸549x663
一分钟学会422立焊
图片尺寸720x953
气保焊立焊焊接方法和技巧新手上路必须得懂它不会的朋友赶紧关注收藏
图片尺寸374x671
手工钨极氩弧焊基本手法操作技术
图片尺寸893x316
什么是电焊的立焊
图片尺寸400x307
手工钨极氩弧焊接全方位图文实操教程
图片尺寸742x284
(收藏版) - 氩弧焊教学 - 实验室设备网
图片尺寸596x249
气保焊立焊的摆动手法你会几种
图片尺寸709x328
立焊
图片尺寸624x343
立焊
图片尺寸384x281
手工钨极氩弧焊接全方位图文实操教程
图片尺寸627x271
工程科技 机械/仪表 焊接培训教材一ppt 焊接培训基础知识及手法 第9
图片尺寸1080x810
氩弧焊怎样焊接中厚板?
图片尺寸380x315
焊潮网视频教学立焊要这么焊
图片尺寸500x375
立焊教学课件
图片尺寸1080x810