氩气减压器结构

上海仪川仪表厂yqar-731l氩气减压器
图片尺寸519x482
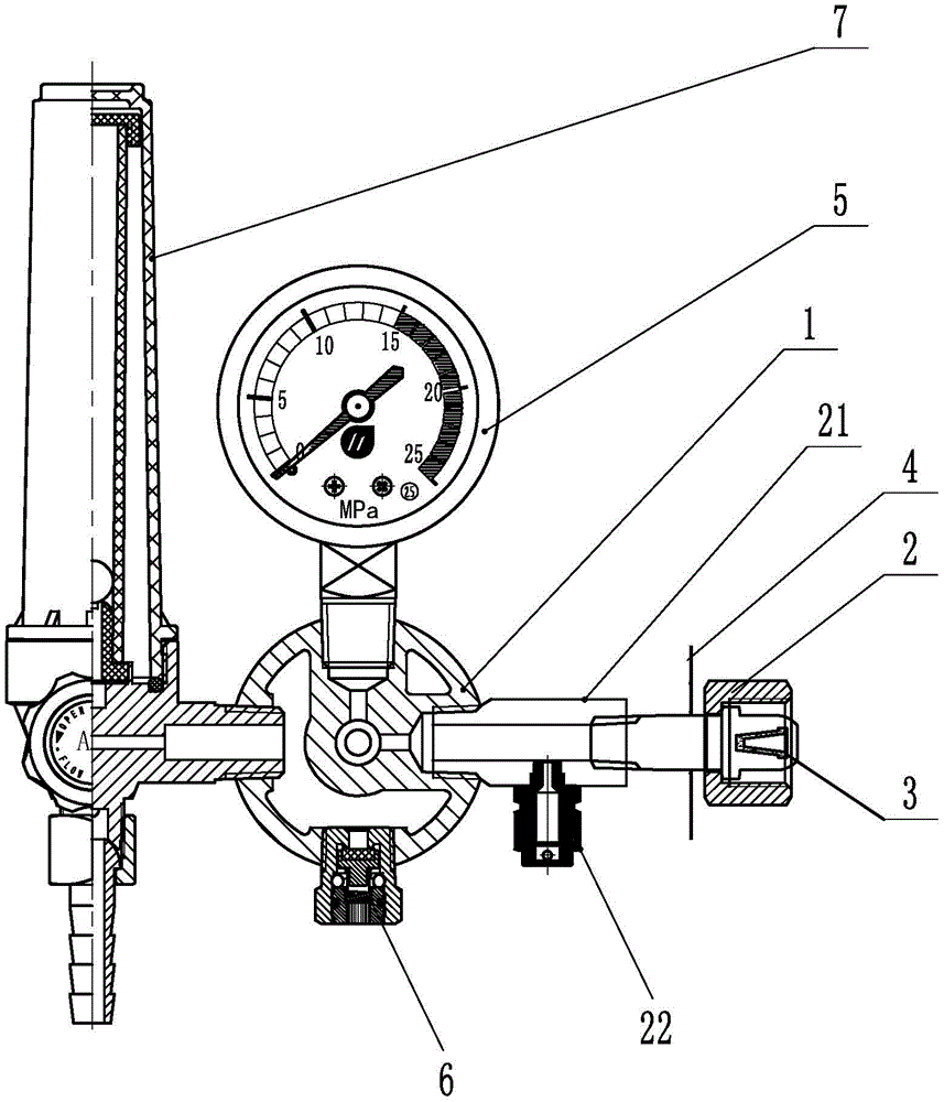
一种带高压阀氩气减压器的制作方法
图片尺寸856x1000
cn211039845u_一种带高压阀氩气减压器有效
图片尺寸857x1000
减温减压器_中文ppt
图片尺寸1080x810
厂价二氧化碳气瓶减压阀ac36v压力表电加热co2表节能防震上海731
图片尺寸711x457
供应yqyar-731l氩气减压器
图片尺寸394x439
y43h 减压阀
图片尺寸620x455
氩气减压器191氩气瓶减压阀带流量计氩气表氩弧焊机配件仪表 小表头
图片尺寸800x800
一,直动型减压阀 图9-11 所示为qty型 直动型减压阀的结构简图.
图片尺寸1080x810
y42x/f薄膜式减压阀,各种氧气,乙炔,丙烷减压器等,其阀芯密封都是采用
图片尺寸594x702
减温减压器_中文ppt
图片尺寸1080x810
200x 减压阀
图片尺寸762x709
ir2000-02-r-a,精密减压阀 ir1000-a/2000-a/3000-a系列
图片尺寸880x660
【进口减压阀】,为用户提供阀门参数选型,原理作用解说,结构尺寸确认
图片尺寸701x273
ir2000-02-r-a,精密减压阀 ir1000-a/2000-a/3000-a系列
图片尺寸880x517
图片浏览
图片尺寸390x181
yk43x先导活塞式气体减压阀
图片尺寸1202x646
气压减压阀
图片尺寸1568x1510
y42x减压阀结构图
图片尺寸424x510
一种减压阀制造技术
图片尺寸987x1000