氮气鼓泡装置示意图

【求助】氮气保护的反应装置!
图片尺寸645x505
cn207076438u_一种乙氧基化聚合釜氮气鼓泡排压装置有效
图片尺寸290x341
氮气鼓泡装置的制作方法
图片尺寸499x564
白湖cqj-25充气工具 氮气充气工具_供应产品_上海白湖阀门有限公司
图片尺寸700x525
实验室常用饱和nano2与nh4cl溶液反应制纯净氮气,反应式为
图片尺寸285x201
【求助】氮气保护的反应装置!
图片尺寸420x260
一种用于工业桶的氮气鼓泡分散装置的制作方法
图片尺寸996x1000
实验室常用饱和nh4cl溶液跟饱和nano2溶液反应制取氮气,其反应为nano2
图片尺寸321x202
初中化学 题目详情 (1)这五个装置示意图中,有一个装置是错误的,指出
图片尺寸470x177
实验室获取氮气有很多种途径,常见的有3种方法.
图片尺寸646x182
厂家大量现货nxq系列蓄能器胶囊 蓄能器皮囊 储能器囊式氮气皮囊
图片尺寸750x979
一种具有氮气保护的反应装置的制作方法
图片尺寸1000x790
①实验室利用如图装置制备氮气. 方法一
图片尺寸456x183
zzdq自力式氮气减压阀氮封装置安装示意图
图片尺寸1000x590
图1 鼓泡反应装置示意图 fig.
图片尺寸888x475
赛森特gbn氮气置换装置 氮气弹簧充装设
图片尺寸465x345
下图是实验室制氮气并模拟合成氨的装置.
图片尺寸562x270
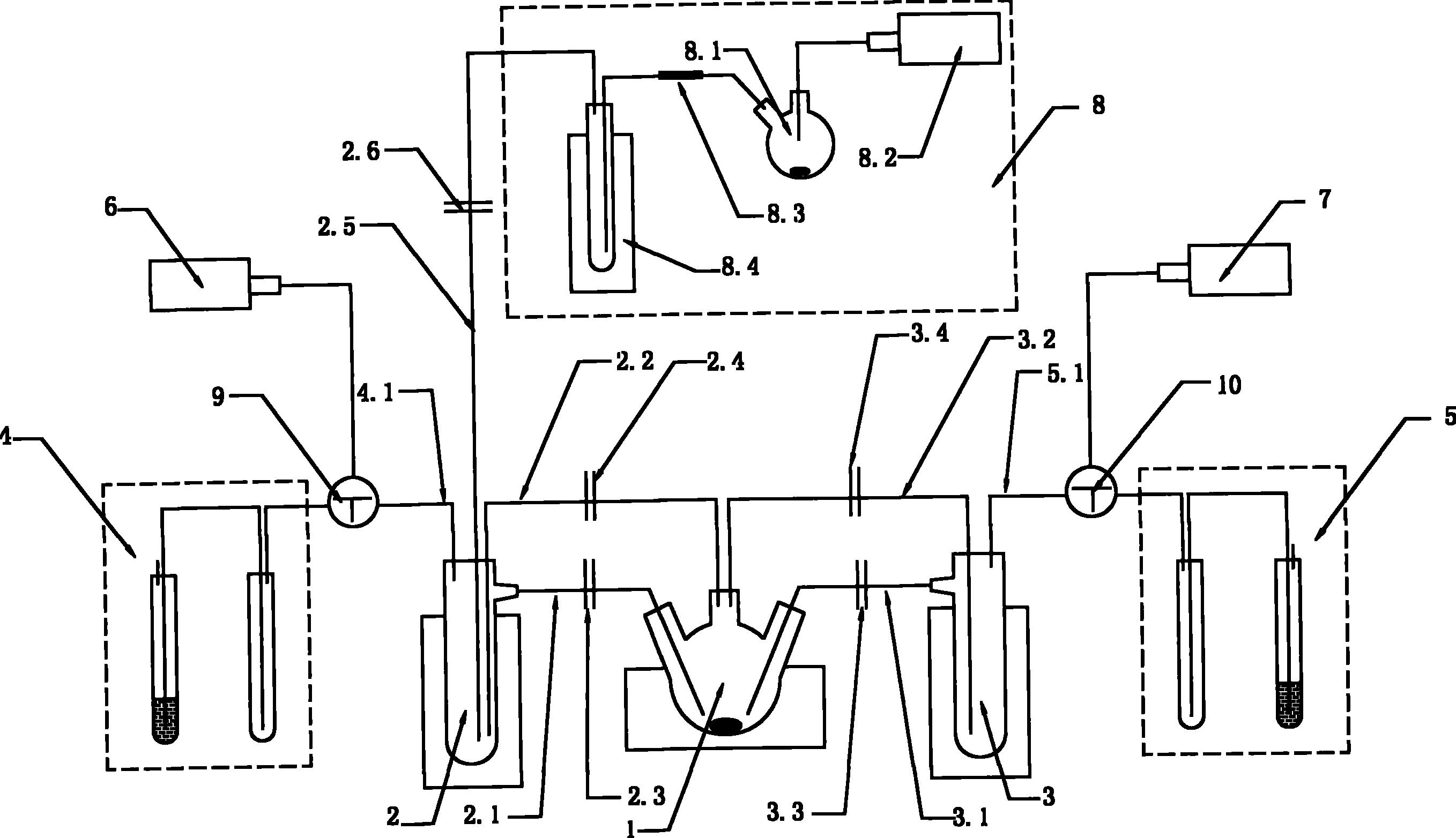
两个冷却装置,两个防倒吸鼓泡装置和两个氮气鼓泡装置;冷却装置通过两
图片尺寸2716x1564
科探仪器设备供应不锈钢气体液体混合罐 石墨烯碳源鼓泡管 高压气液
图片尺寸800x637
mf1010高压氮气缓冲罐
图片尺寸820x1161