氯气钢瓶图解

厂家直销40l/100l/400l/800l氯气罐 氯气瓶 液氯储罐 液氯钢瓶
图片尺寸1200x947
厂家直销40l/100l/400l/800l氯气罐 氯气瓶 液氯储罐 液氯钢瓶
图片尺寸789x540
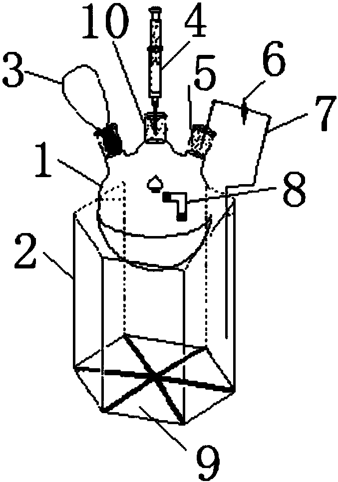
一种氯气钢瓶制造技术
图片尺寸854x1000
一种氯气钢瓶
图片尺寸900x1057
黑字;氮气钢瓶为黑色,黄字;压缩空气钢瓶为黑色,白字;氯气钢瓶为草
图片尺寸239x300
气体灭火系统钢瓶检漏方式fm消防
图片尺寸611x472
氯气职业健康检查与职业禁忌证
图片尺寸400x300
氯气的制备及其性质实验装置
图片尺寸677x966
我国自来水净化方式是氯气杀菌,它的缺点你也必须知道
图片尺寸640x427
所示是某学生设计的实验室制备并干燥cl 及吸收多余氯气的实验装置图
图片尺寸419x201
采样钢瓶
图片尺寸618x478
如图为实验室制取纯净干燥的氯气并验证氯气性质的装置其中e瓶放有
图片尺寸531x244
钢瓶系列
图片尺寸600x500
供应氯甲烷钢瓶
图片尺寸960x720
实验室用浓盐酸和二氧化锰共热制取氯气现要制取一瓶干燥纯净的氯气并
图片尺寸418x161
化学学习——氯气的实验室制法
图片尺寸516x318
应急消防科普丨氯气泄漏事故防范与处置|钢瓶|液氯|储罐_网易订阅
图片尺寸633x664
液氯钢瓶
图片尺寸3120x4208
如图所示是一个制取氯气并以氯气为原料进行特定反应的装置,多余的
图片尺寸463x177
电解槽中应通入co2作保护气,产品氯气可用
图片尺寸384x238