水下推进器原理

我按照自己的设想做了一个水下推进器.有图.
图片尺寸800x430
船舶推进器的形式 一,水下螺旋桨式 二,空气螺旋桨式 三,喷水式 四,明
图片尺寸1080x810
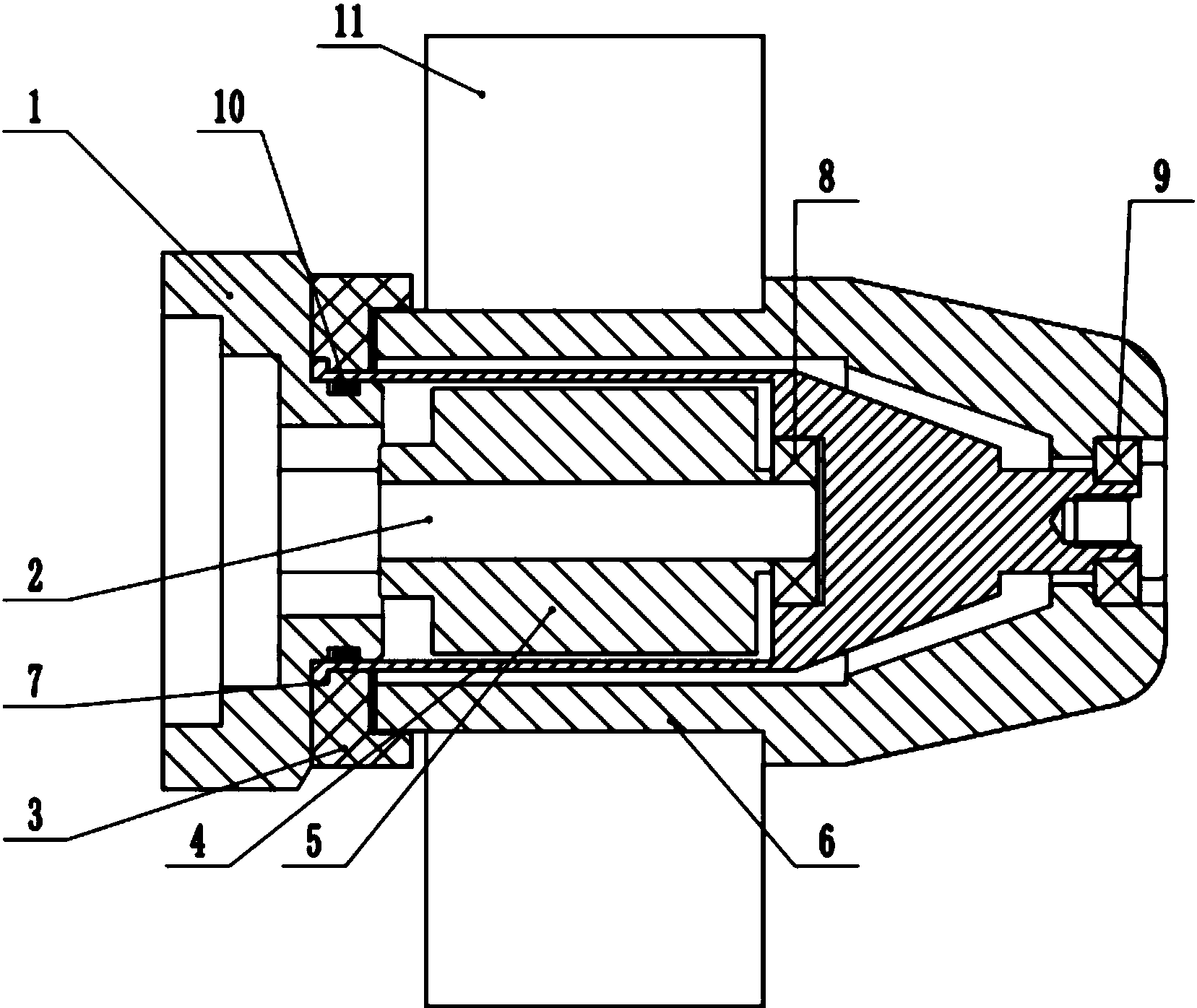
cn101811566a_水下伺服推进器失效
图片尺寸1639x1088
超空泡鱼雷的原理就是利用启动发动机将鱼雷在水中的航速提高到空化
图片尺寸554x411
一种轮缘水下推进器
图片尺寸387x444
全回转式的水下推进器的制作方法
图片尺寸1000x802
一种全回转式的水下推进器
图片尺寸378x443
水下推进器的制作方法
图片尺寸1000x462
cn101323365a_液压驱动身体尾鳍方式仿生水下推进器失效
图片尺寸1668x1049
3,当温度在77℃的时候需要检查节温器是否完全关闭,如果没有完全关闭
图片尺寸392x197
泳池无边边际推进器游泳池逆流训练器水中跑步机私人泳池设备
图片尺寸800x800
污水推进器qjb442000242p聚氨酯叶桨
图片尺寸2419x3415
一体式电动喷水推进器的制作方法
图片尺寸1000x488
一种rov推进器及rov的制作方法
图片尺寸1000x674
cn207496908u_一种磁耦合水下推进器有效
图片尺寸1427x1075
一种水下推进器的制作方法
图片尺寸403x443
水下推进器磁力密封驱动装置
图片尺寸1657x1396
为让潜艇在水下长时间巡航斯特林发动机闭循环柴油机有何不同
图片尺寸600x328
一种水下推进器用电机的制作方法
图片尺寸351x443
能深潜水无限的潜水艇与螺旋桨推进器在水下装配与衔接的结构
图片尺寸1417x642