水位标尺如何画

我国工程师设计的一种使用反光材料制作的水位标尺(设计:刘子宇),用
图片尺寸816x456
带夜视功能的水位标尺的制作方法
图片尺寸459x1000
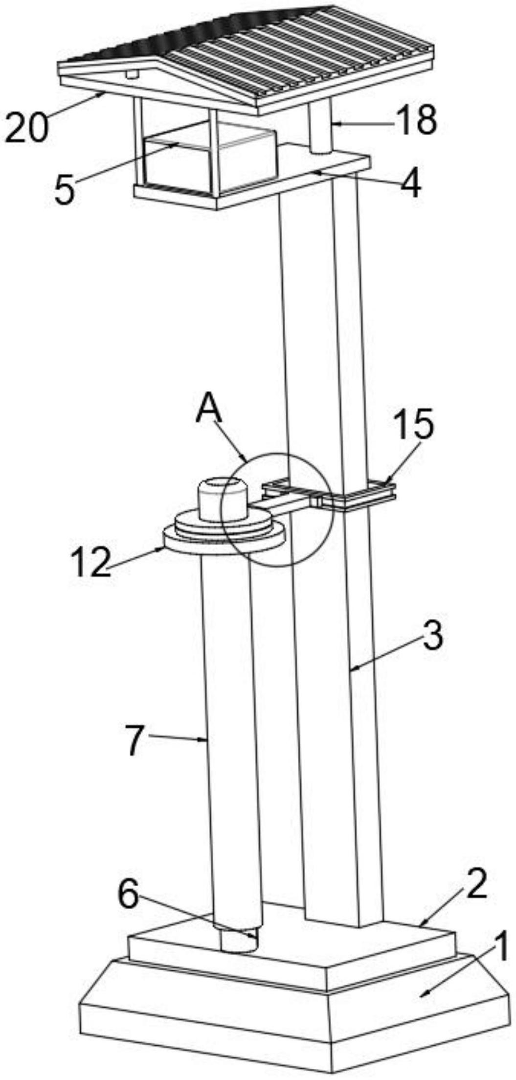
一种可调节直立式水位标尺的制作方法
图片尺寸517x1000
水位标尺安装示意图
图片尺寸800x587
一种水利管理用的水位尺
图片尺寸867x2414
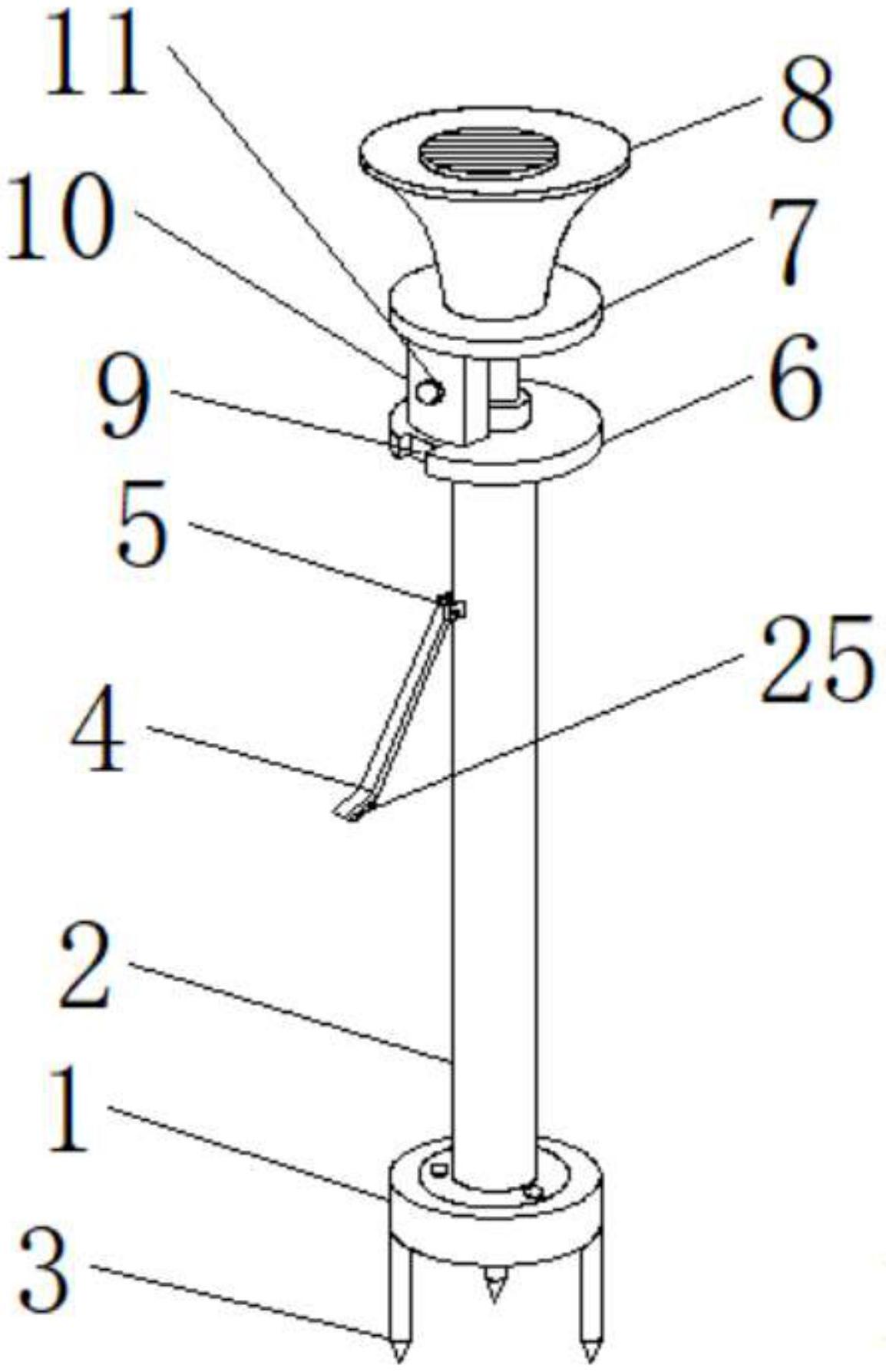
一种水利工程管理用的水位尺的制作方法
图片尺寸614x1000
一种便携式测量地下水位的水位尺的制作方法
图片尺寸426x1000
cn212482640u_一种水利工程管理用的水位尺有效
图片尺寸1154x1786
容器罐体测量尺卷尺不干胶防水自粘消防水池水位刻度线警示指示标尺
图片尺寸1575x1575
一种水利工程管理用水位尺的制作方法
图片尺寸1270x2413
80cm水位标尺设计
图片尺寸600x962
一种水利工程管理用的水位尺的制作方法
图片尺寸311x444
人工观测水位标尺设置及要求
图片尺寸500x429
正确安装水位标尺,保证防汛数据准确
图片尺寸2976x3968
cn213515913u_一种防汛用水位标尺有效
图片尺寸1055x2207
sbc5e双排水位标尺设计
图片尺寸560x480
出口水位标尺
图片尺寸600x507
盐酸储罐液位计
图片尺寸436x528
顶装式水位标尺
图片尺寸750x569
一种水利管理用的水位尺的制作方法
图片尺寸361x1000