水冷装置

水冷式冷却/加热装置
图片尺寸500x500
最近看上了一个一体式的cpu水冷装置deepcool九州神风captain120ex
图片尺寸1600x1200
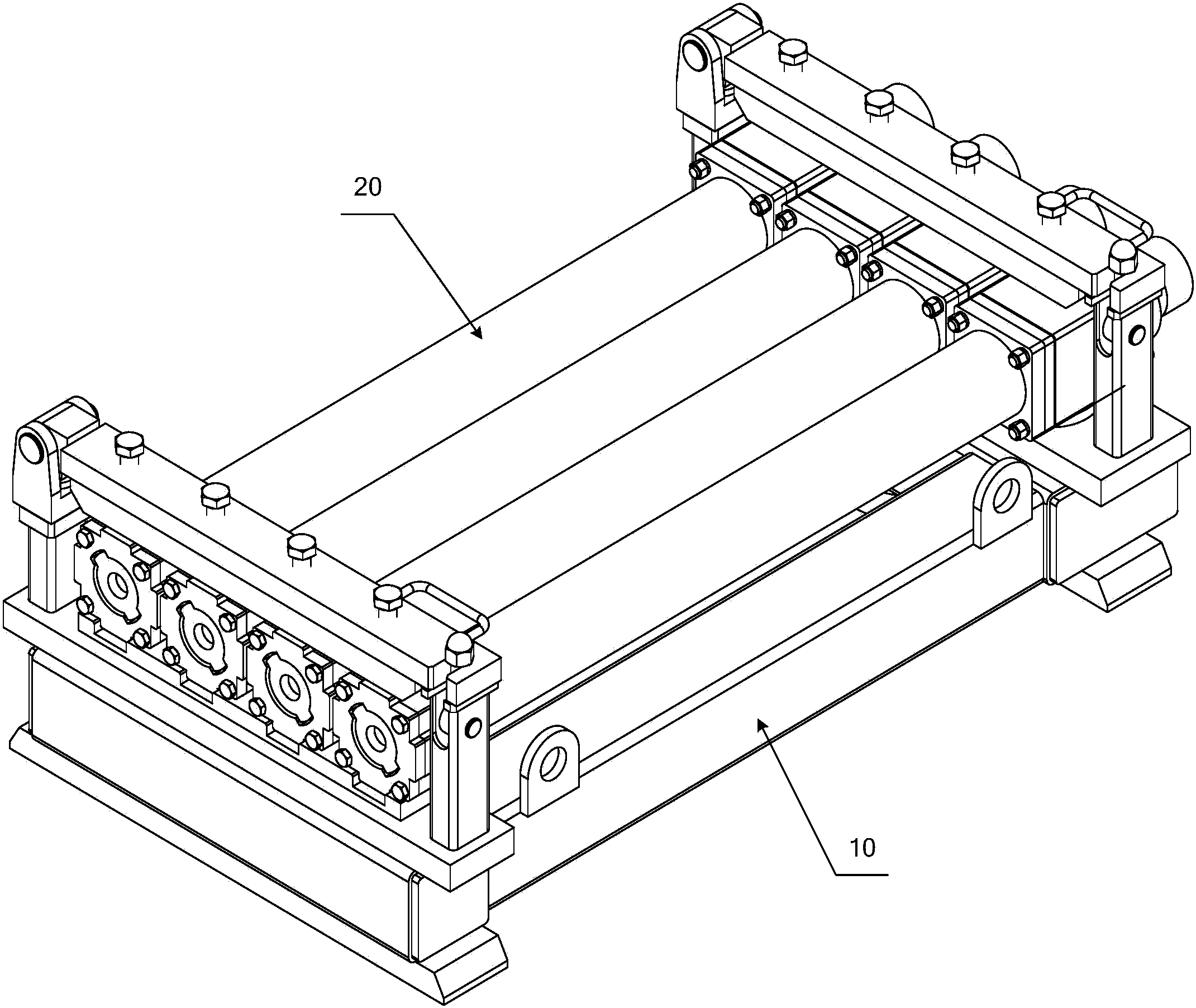
一种水冷装置
图片尺寸2141x1804
水冷水冷却装置194558kwwshxsc
图片尺寸1181x1139
水冷装置 zalman reserator1
图片尺寸1200x1200
水冷笔记本系统外设外置散热器改装铜管散热器
图片尺寸2844x2604
最近看上了一个一体式的cpu水冷装置deepcool九州神风captain120ex
图片尺寸1600x1200
复合式冷却系统 - 水冷装置 - 产品中心 - 浙江焦耳科技有限责任公司
图片尺寸690x464
三轮车摩托车汽车微型车水箱风扇水冷散热器水箱水冷散热装置
图片尺寸960x960
cpu散热装置通常分为风冷和水冷.
图片尺寸1080x500
水冷冷却装置
图片尺寸345x345
小型高精度恒温冷水机,冰水机,水冷机
图片尺寸500x375
水冷水冷却装置aquaedge 23xrv
图片尺寸500x500
风力发电水冷装置-爱企查
图片尺寸634x1231
水冷水冷却装置
图片尺寸350x350
供销四川 南京水冷式冷水机/风冷式冷水机/小型冷水机
图片尺寸1000x1510
供应山西太原水冷系统/山西水冷装置/内蒙古设备冷却/长治冷却装置
图片尺寸750x858
水冷装置
图片尺寸500x500
痛快游戏,强悍的台式水冷主机
图片尺寸800x800
水冷散热系统精品鉴赏(一)(多图杀猫)
图片尺寸437x424