水力旋流器图纸

一种用于铜矿选矿的水力旋流器的制作方法
图片尺寸637x1000
水力旋流器cad
图片尺寸1361x955
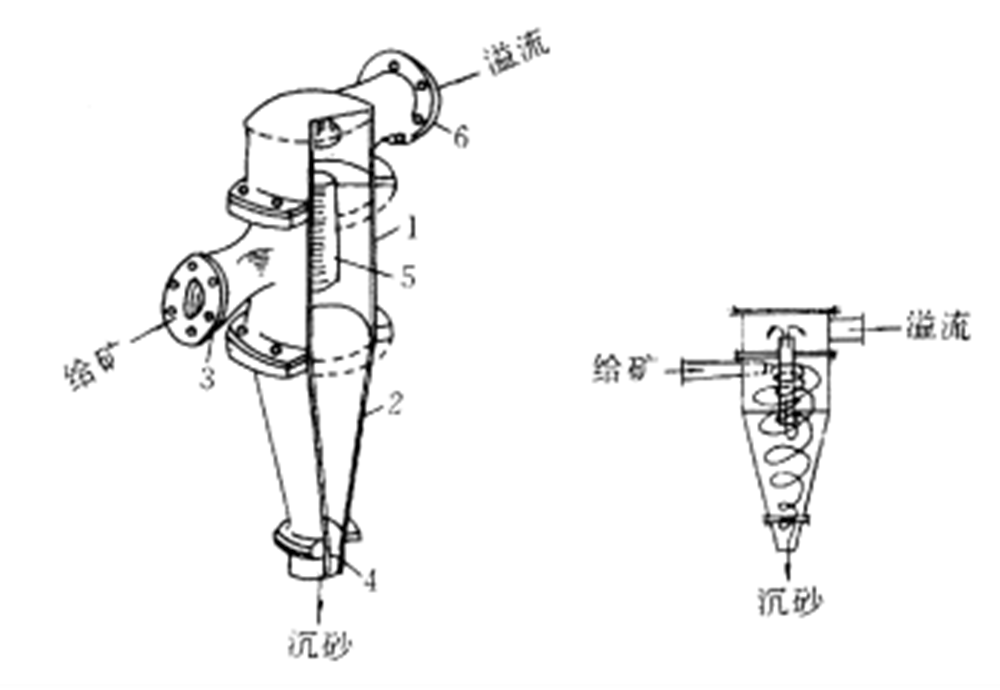
图7-14 水力旋流器的构造和工作原理示意图
图片尺寸1160x736
p data-id="gnbk6j9if3">水力旋流器,是利用 a target="_blank" href
图片尺寸1000x690
水力旋流器是利用离心力分离和浓缩浆液的装置.
图片尺寸553x386
旋流器工作原理: 水力旋流器的工作原理
图片尺寸377x274
水力旋流器的结构参数
图片尺寸730x796
一种用于污水处理的水力旋流器的制作方法
图片尺寸274x444
一种通过水力旋流器分离银纳米线的方法技术
图片尺寸513x1000
厂家供应 300 油田除砂器 聚氨酯 水力旋流器 细沙回收再利用
图片尺寸640x671
p data-id="gnbk6j9if3">水力旋流器,是利用 a target="_blank" href
图片尺寸500x697
一种煤泥尾矿水力六产品脱泥排矸分级分选旋流器组
图片尺寸988x1000
xcii300旋流器 - 污水处理设备图纸 - 沐风网
图片尺寸286x423
水力耐磨旋流器制造技术
图片尺寸495x1000
fx350旋流器总装图下载(117.91 kb,dwg格式) 机械cad图纸
图片尺寸415x450
水力旋流器型号规格及选型方案
图片尺寸690x526
一种水力旋流器
图片尺寸361x444
水力旋流器图纸
图片尺寸221x320
水力旋流器
图片尺寸606x735
cn104870072a_水力旋流器有效
图片尺寸1000x767