水封地漏结构图

传统水封式地漏 水下不去 怎么办?
图片尺寸249x201
斯格雅 地漏 防臭 不锈钢 防臭地漏芯 洗衣机地漏可选 热销万件
图片尺寸1148x1032
背景技术::一般的地漏都是利用内部的贮水构造形成水封防臭层,防止
图片尺寸1000x772
地漏水封
图片尺寸373x275
不锈钢防臭地漏 卫生间洗衣机**地漏 高水封双用潜水艇地漏
图片尺寸702x439
地漏水封
图片尺寸283x240
一种水封式快速排水地漏的制作方法
图片尺寸1000x853
水封型地漏又称u型地漏,最大的特点是有"u"型存水弯,每次排完水后会有
图片尺寸640x320
厂家直销 不锈钢防臭浴室地漏 浴室卫生间专用地漏 佛山地漏 提供oem
图片尺寸1024x808
那么正确的做法应该是,设置存水弯,利用水封隔绝臭气.
图片尺寸640x372
水封地漏大多数水封地漏的水封浅且封水量太少,会因为时间及天气干燥
图片尺寸644x241
304 不锈钢面板 : abs 地漏体 :水封中罩 :倒流阀筒
图片尺寸638x597
地漏特点性能等情况介绍地漏的安装要点
图片尺寸800x750
地漏怎么防虫 - 2020年最新商品信息聚合专区 - 百度爱采购
图片尺寸640x391
【雨虹杯】关于地漏(2)地漏的安装
图片尺寸740x612
cn201660942u_水封式防返味地漏失效
图片尺寸800x791
cn2184717y_防臭止逆地漏失效
图片尺寸2464x2016
型号 2厘单用 类型 两用地漏 水封高度 100(毫米(mm)) 材质 不锈钢
图片尺寸750x573
(组件式——深水水封防臭地漏剖切结构)
图片尺寸583x594
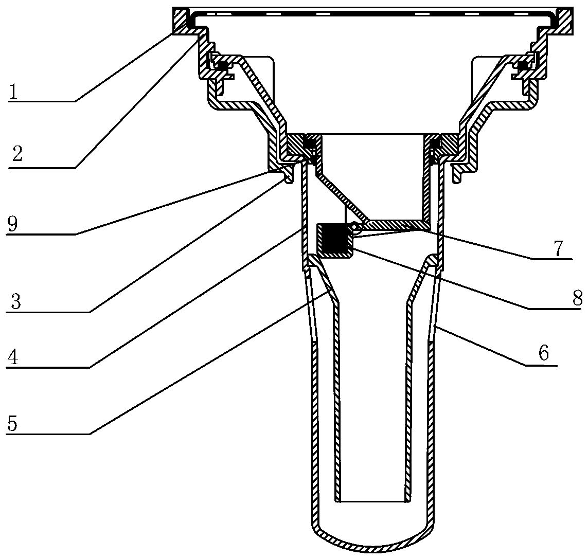
机械密封装置设置在水封式地漏的水封内室上端,形成第一级密封结构
图片尺寸1143x1087