水封工作原理图

正负压水封工作原理
图片尺寸920x1302
罐区水封井排水示意
图片尺寸672x223
一种水封罐-爱企查
图片尺寸1778x962
氯气管道的负压水封气相管道是否伸到液面一点呢
图片尺寸1105x618
水封罐的工作原理和结构
图片尺寸1024x481
水封原理图
图片尺寸807x673
积气则通过b瓶内水封管引流,表现为患者咳嗽,深呼吸后有气泡溢出.
图片尺寸640x360
单阀座密封工作原理图
图片尺寸625x532
汽轮机辅机多级水封,轴加疏水,多级水封疏水装置
图片尺寸807x514
马桶水封的原理是什么,马桶防溅水封的原理是什么
图片尺寸600x360
焦炉水封工艺的优化设计与改造
图片尺寸583x343
2021各种液封的原理和设置.docx 9页
图片尺寸860x1218
除氧罐水封器的作用480万注册会员,工作日均10万访客,化工社群第一站
图片尺寸613x557
火力发电厂轴加和多级水封常见问题及应对措施
图片尺寸922x686
湿式气柜水封溢水的原因及处理
图片尺寸307x281
zzyvp-16b-玻璃钢水箱氮封阀
图片尺寸1092x644
东晟密封
图片尺寸484x309
⑤硅胶封水(膨胀弹性原理)④存水封水(水封原理)③t型封水(弹簧原理)
图片尺寸1080x610
多级水封结构
图片尺寸249x286
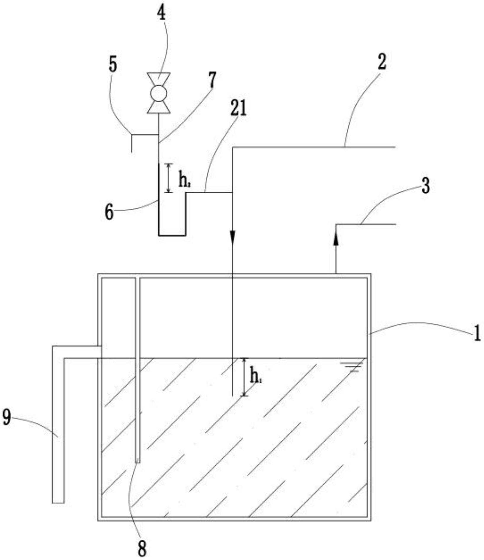
一种纯水氮封装置
图片尺寸1634x1889