水封环图片

组合式密封环,如何诞生?
图片尺寸1080x1410
地下室桩头抗浮锚杆基坑工程 防水橡胶套环遇水膨胀型密封止水环
图片尺寸750x1875
矿山水泵的关键配件
图片尺寸1920x1440
遇水膨胀止水环的特点有哪些?
图片尺寸3840x2160
uhb耐腐耐磨砂浆泵导水环密封圈水封环
图片尺寸300x300
柳州刚性止水环厂家专业生产刚性止水环咨询电话:18731
图片尺寸1080x1920
防水套管止水环
图片尺寸1164x1080
什么是冲压止水环 防水钢环?
图片尺寸720x1280
防水套管止水环:刚性与柔性完美结合
图片尺寸720x960
三明止水环厂专业生产止水环咨询电话:1873177333
图片尺寸1080x1920
va水封丁晴氟橡胶密封圈jannevicose德国uks 100 120 180 220 275
图片尺寸1676x1082
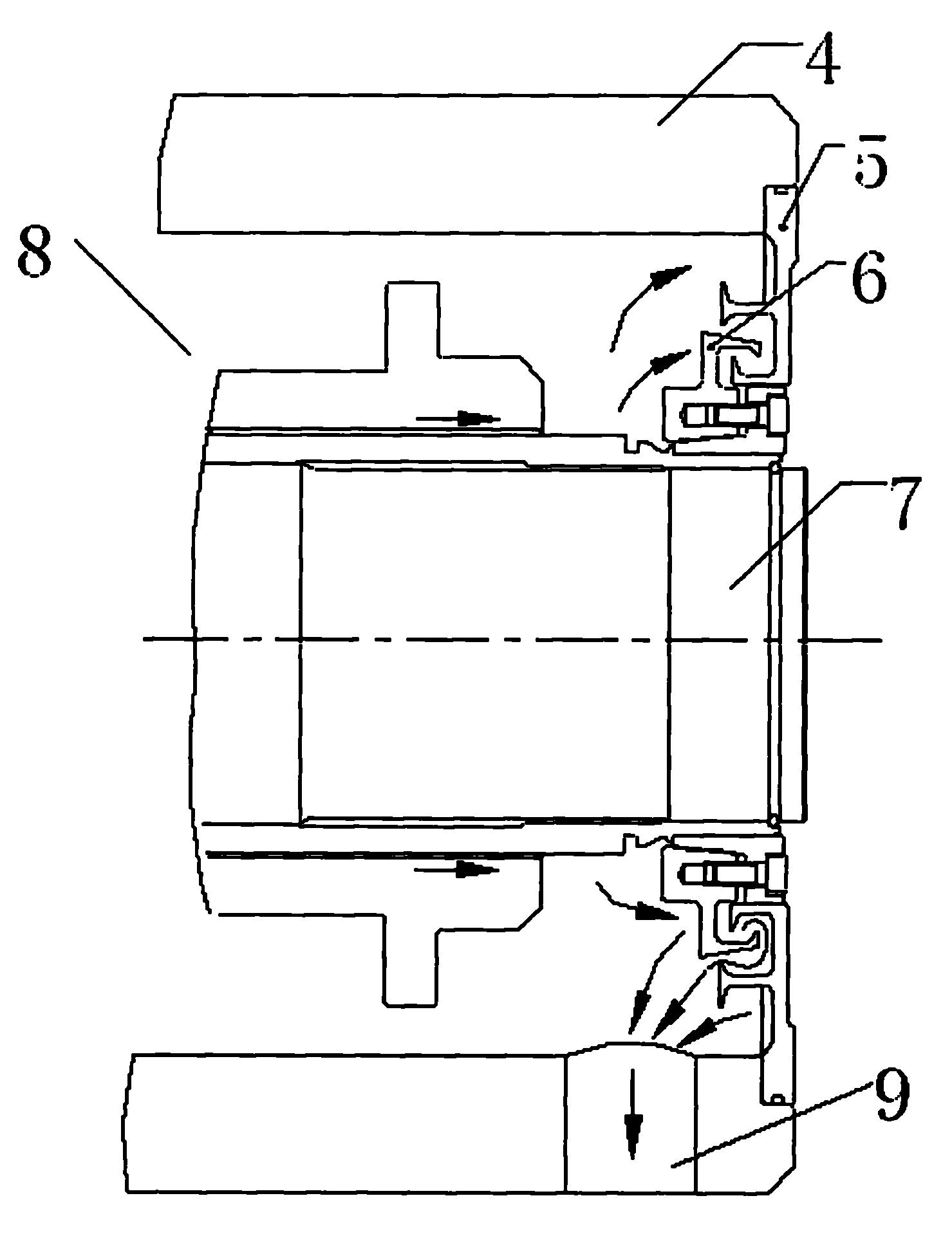
电站给水泵迷宫式水封环
图片尺寸1479x1918
遇水膨胀止水环规格有哪些?
图片尺寸2160x3840
淄博刚性止水环厂专业生产刚性止水环咨询电话:187317
图片尺寸928x1920
v型水封 va水封 密封唇 vda水封 威良橡塑 定制
图片尺寸750x750
va密封圈(水封)
图片尺寸1520x980
图片尺寸4104x2736
密闭环 止水环 .套管的组成部分之一,各种型号
图片尺寸1440x1080
贵州刚性止水环生产厂家选择生产厂家非凡套管翼环,密封性好
图片尺寸720x1000
防水橡胶套环 抗浮锚杆 止水套环件 250mm 遇水膨胀止水环
图片尺寸375x375