水封结构

水封罐的工作原理和结构
图片尺寸1105x618
水封罐的工作原理和结构
图片尺寸1024x481
v形截面水封结构图
图片尺寸1000x447
注水泵用机械橡胶密封件结构都有什么特点呢?
图片尺寸1548x2032
水封工作原理及多级水封的介绍
图片尺寸564x399
水封.jpg!710
图片尺寸750x364
水封结构图
图片尺寸307x281
酸性水储罐水封罐堵塞原因
图片尺寸613x557
搅拌设备中液封的结构与选型
图片尺寸378x540
请问水泵的水封是密封原理是怎样的?
图片尺寸815x502
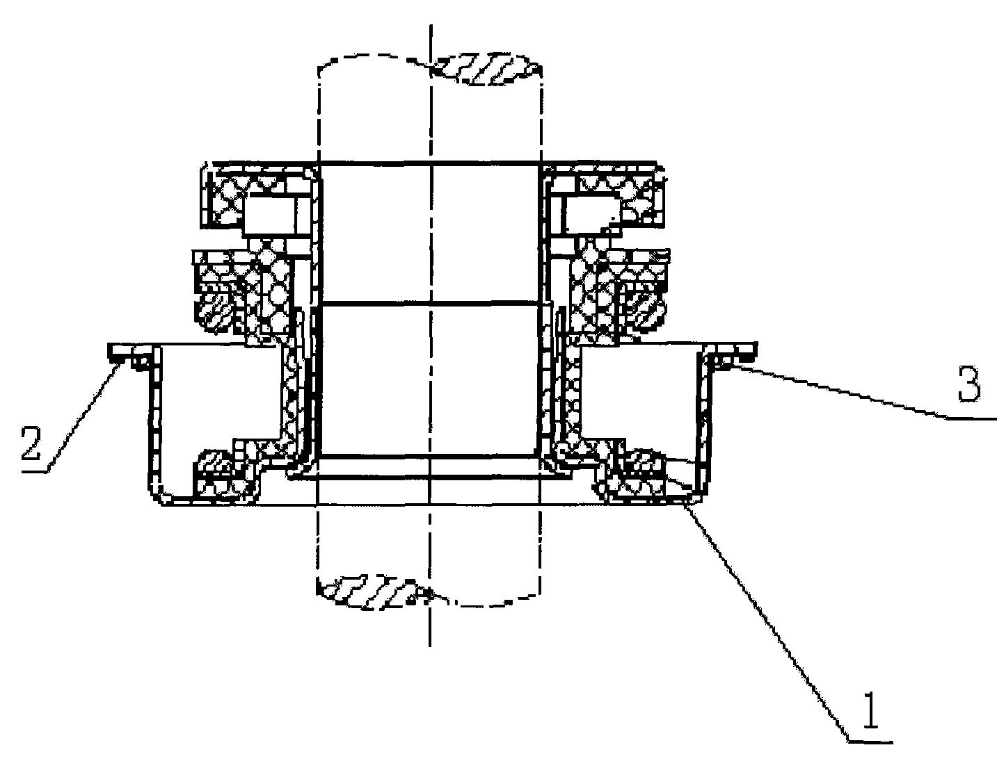
一种汽车水泵壳体的水封结构密封方法
图片尺寸1433x1105
汽车密封 汽车冷却水泵机械密封 16 集装式 分体式汽车水封
图片尺寸700x600
双封自净式防逆水封阀
图片尺寸594x421
cn101338897a_火炬系统用水封结构有效
图片尺寸1728x1242
氮气水封罐的构造
图片尺寸1053x752
一种直流钛渣电炉煤气柜进口降温式u型水封
图片尺寸1369x1166
焦化厂3#,4#,5#,6#焦炉的水封管网系统最初是按照图1所示结构设计的
图片尺寸583x343
一种新型多功能水封罐
图片尺寸1216x1935
用于下水口,污水口的水封式内芯技术
图片尺寸1824x1472
低压湿式煤气柜水封构造示意图
图片尺寸450x723