水封结构图

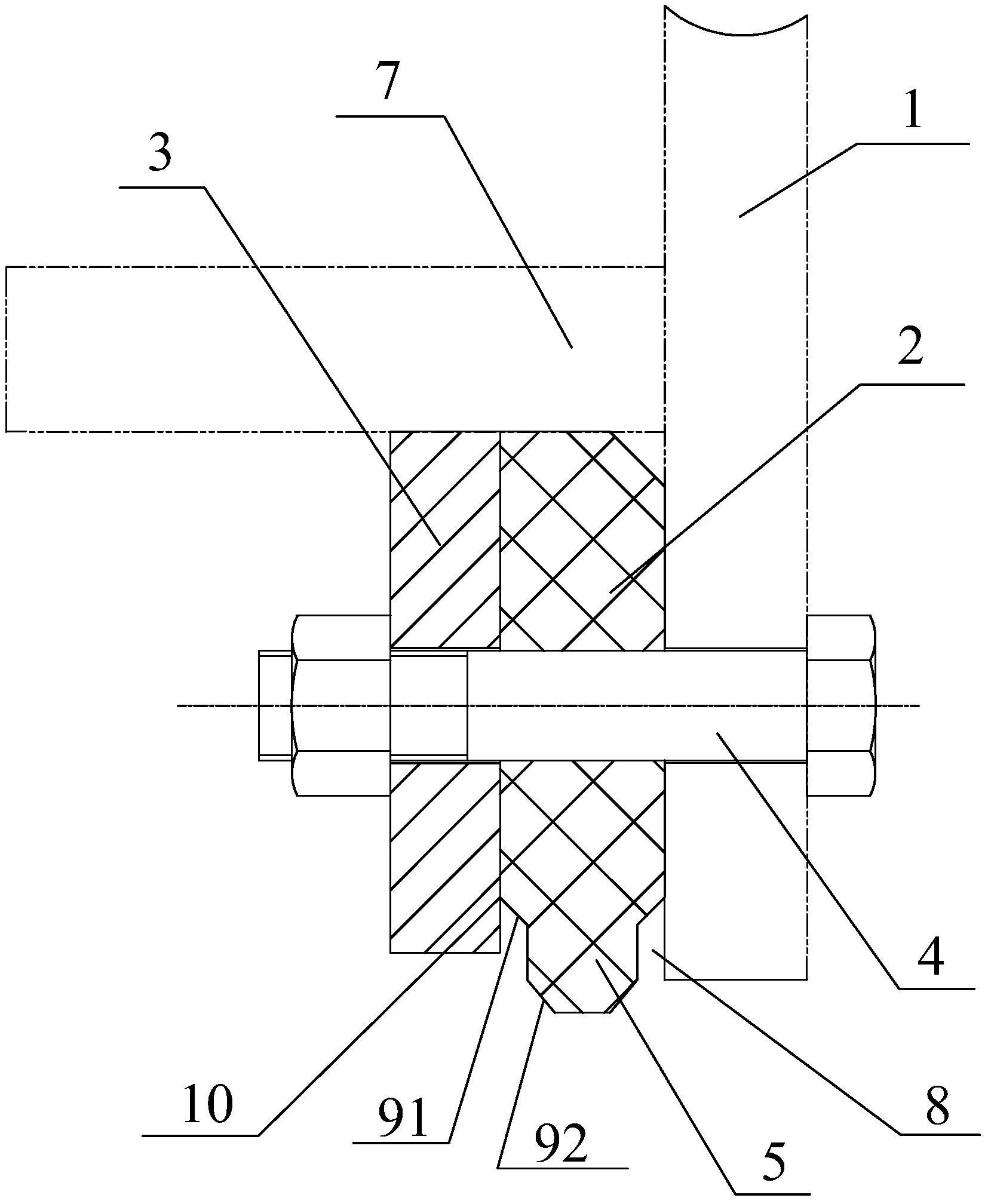
一种平面闸门底水封结构
图片尺寸1654x2016
水封罐的工作原理和结构
图片尺寸1105x618
搅拌设备中液封的结构与选型
图片尺寸378x540
一种直流钛渣电炉煤气柜进口降温式u型水封
图片尺寸1369x1166
值得注意的是水封环的作用不能忽略,现在有些人检修水泵时,往往不装
图片尺寸396x319
水封结构图
图片尺寸307x281
请问水泵的水封是密封原理是怎样的?
图片尺寸815x502
0t防逆水封阀结构如图1所示;安装尺寸见表1四,结构形式及外形安装尺寸
图片尺寸600x630
焦化厂3#,4#,5#,6#焦炉的水封管网系统最初是按照图1所示结构设计的
图片尺寸583x343
器具,包括台盆,浴缸,地漏和马桶等,其排水口下方必须设置存水弯(水封)
图片尺寸800x381
水封.jpg!710
图片尺寸750x364
cn101338897a_火炬系统用水封结构有效
图片尺寸1728x1242
汽车密封 汽车冷却水泵机械密封 16 集装式 分体式汽车水封
图片尺寸700x600
谁有煤气水封结构图啊
图片尺寸497x636
一种降噪型汽车水泵用水封制造技术
图片尺寸1000x572
清水泵的水封结构和材料是怎样的?
图片尺寸300x256
压盖填料密封是由填料箱,水封环(也称填料环),填料,填料压盖及压紧
图片尺寸511x267
一种新型水封瓶
图片尺寸1000x818
氮气水封
图片尺寸1600x1280
cn201548084u_可调节型多级u型水封失效
图片尺寸800x1008