水封装置

一次性使用胸腔引流装置医用闭式引流瓶水封瓶单腔双腔负压引流瓶
图片尺寸800x800
水封整体装置
图片尺寸800x600
一次性使用胸腔引流装置包装闭式引流水封瓶 单腔富林 双腔【图片
图片尺寸800x800
用于下水口,污水口的水封式内芯技术
图片尺寸1824x1472
一次性使用胸腔引流装置包装闭式引流水封瓶 单腔富林 双腔【图片
图片尺寸800x800
超纯水有机玻璃氮封水槽原理
图片尺寸720x960
铜仁水封式防回火装置水封式防爆器实用安全稳定操作简单
图片尺寸750x1000
胸腔引流天康生双星水封引流装置胸单腔双腔三腔单双三 单腔1300毫升
图片尺寸800x800
水封原理图
图片尺寸807x673
沼气安全水封式阻火装置说明 阻火装置的作用是防止火焰进入设备
图片尺寸567x720
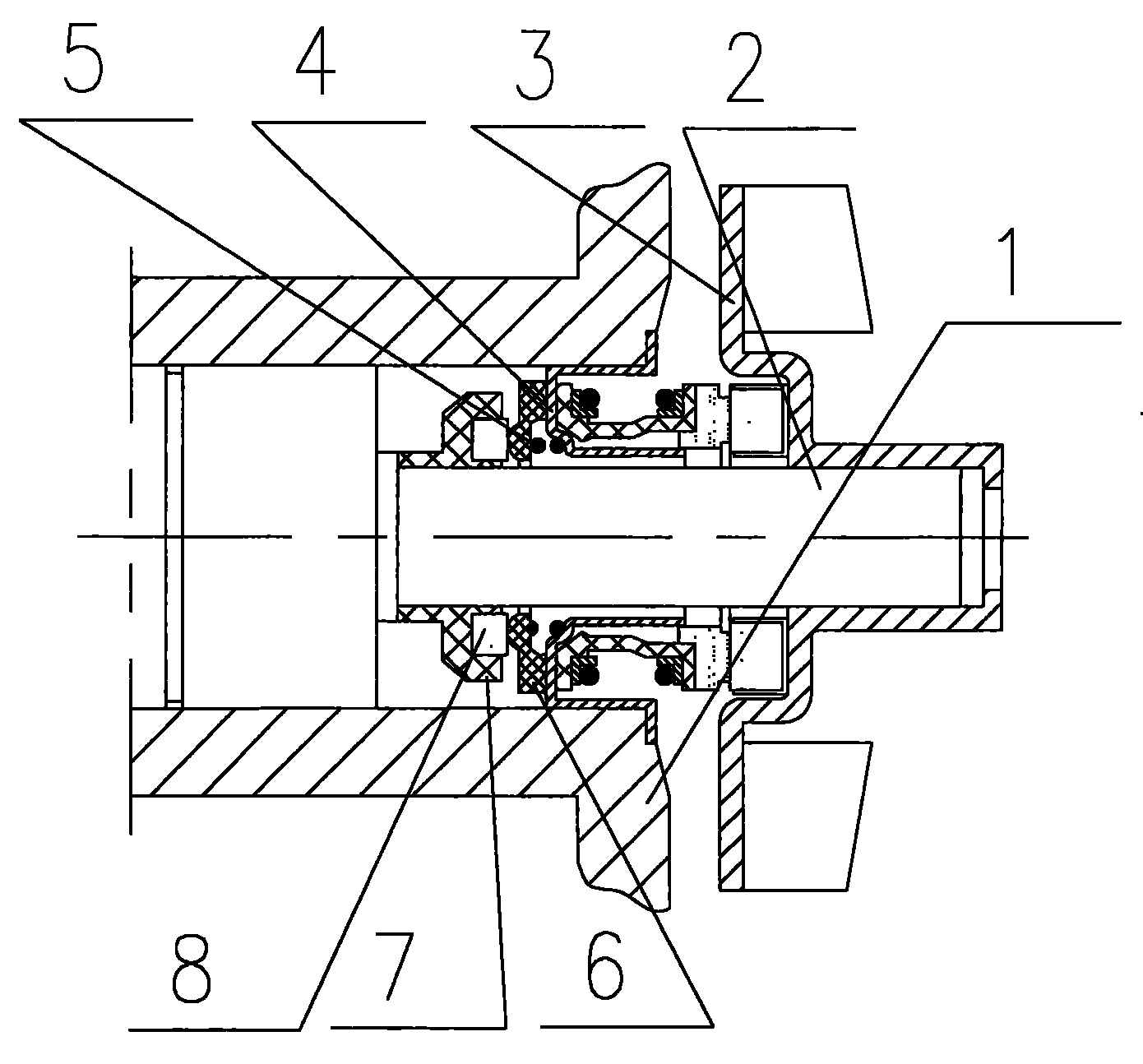
在轴承与尾轴轴套之间有密封装置,担负着封水封油的任务,一类是接触式
图片尺寸640x475
微型机动车用控制背压的水泵水封装置
图片尺寸1390x1294
除氧器水封装置的结构及其原理!谢谢
图片尺寸391x516
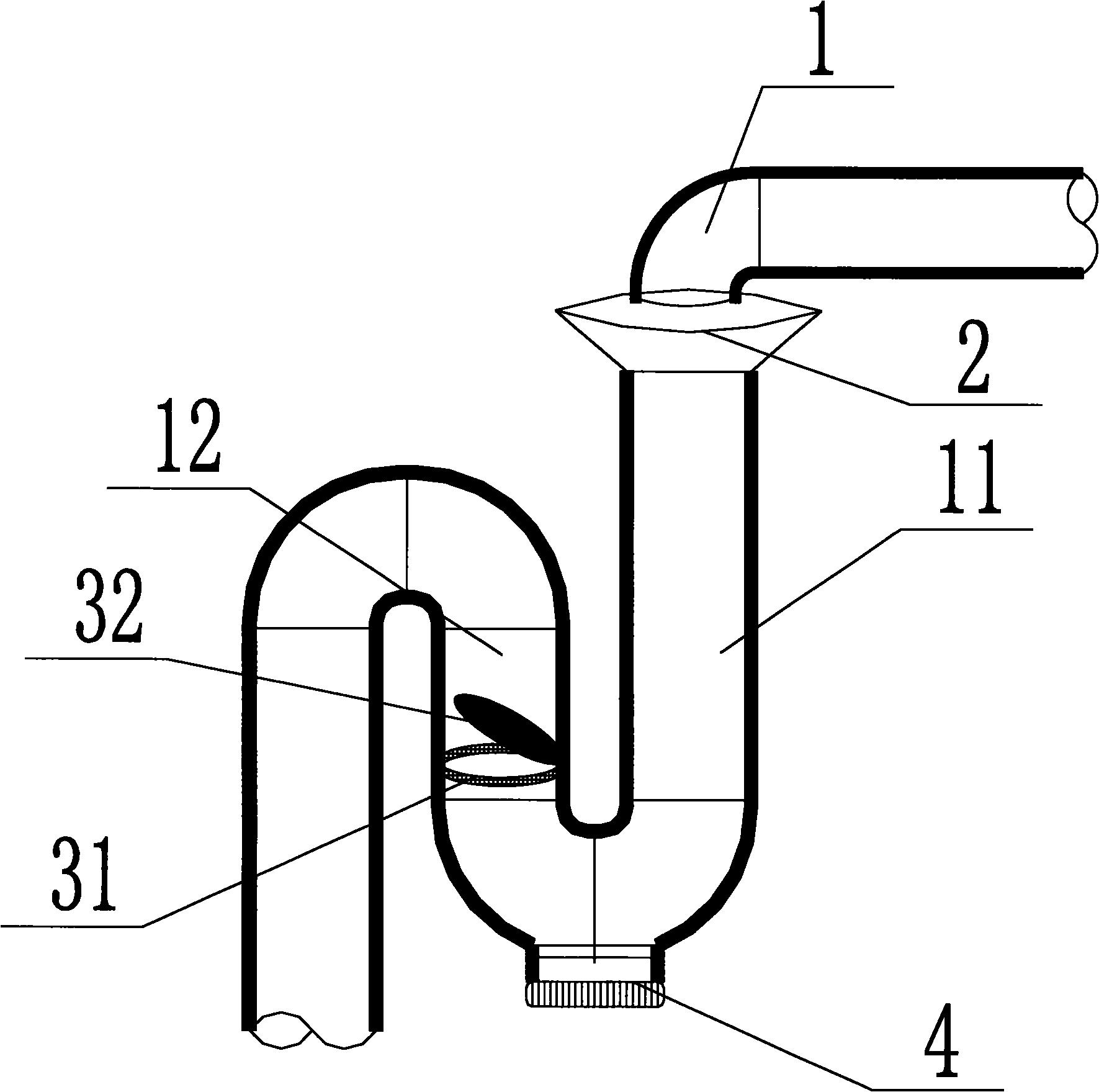
空调排水管自动隔气式水封装置-爱企查
图片尺寸1771x1759
空调冷凝水排水器浮球式水封乒乓球水封存水弯
图片尺寸1000x750
水封地漏(室内必不可少的密封装置)_尚可名片
图片尺寸610x691
抽凝机轴封冷却器多级水封装置
图片尺寸1895x2405
主要用于轴封加热器的疏水与漏汽的密封装置水封筒,高低加加热器的汽
图片尺寸445x358
cn2178255y_用于下水口,污水口的水封式内芯装置失效
图片尺寸1824x1472
低压除氧器的溢流水封装置-爱企查
图片尺寸587x799