水暖毯工作原理图

水暖毯水暖床垫水暖电热毯怎么样哪个品牌好这篇文章都告诉你
图片尺寸567x550
一种水暖毯系统装置的制作方法
图片尺寸892x918
水暖毯价格冬天如何花式暖床
图片尺寸731x455
一种水暖电热毯装置的制作方法
图片尺寸647x1000
cn107656553a_一种水暖毯主机控制电路在审
图片尺寸2202x1205
一种水暖毯系统装置的制作方法
图片尺寸1000x958
二,水暖毯的工作原理
图片尺寸750x696
水暖毯及采暖水循环系统
图片尺寸1000x565
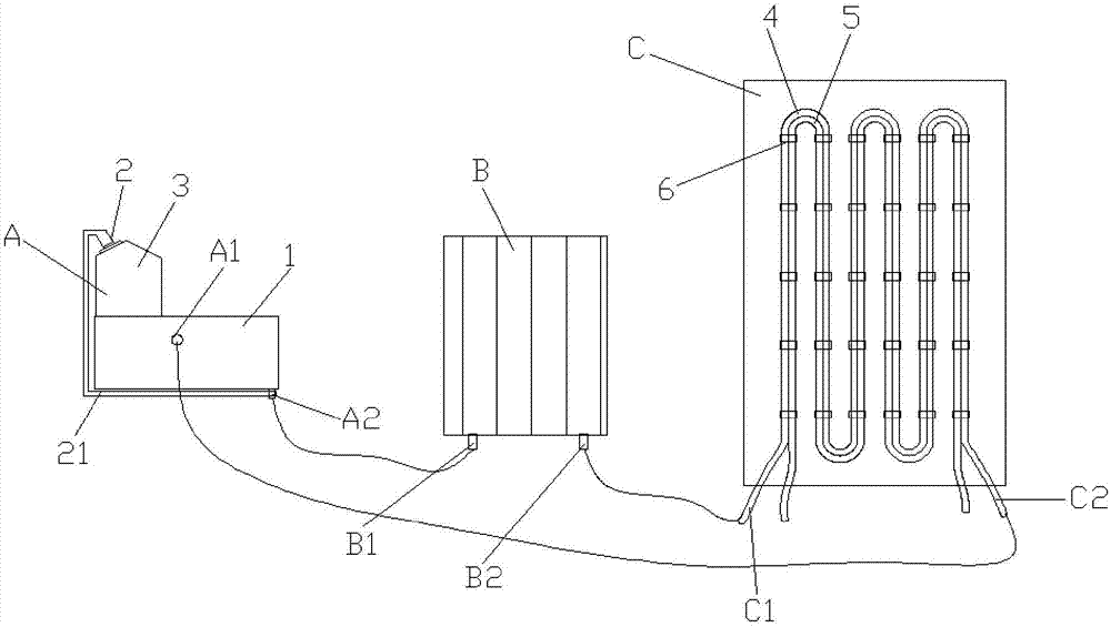
一种静音水暖毯,垫的制作方法
图片尺寸1000x626
荣事达水暖毯电热毯双人安全无辐射六档调温家用电褥子孕幼专用老品牌
图片尺寸790x1009
水暖毯因为不带水泵,靠压力差的工作原理从而实现并带动热水的流动,水
图片尺寸576x513
一种水暖毯主机控制电路的制作方法
图片尺寸493x1000
一种水暖毯主机节能回水加热装置的制作方法
图片尺寸719x1000
cn205561215u_无泵水循环水暖毯主机失效
图片尺寸1684x2238
一种无泵水暖毯的制作方法
图片尺寸597x450
一种水暖毯的制作方法
图片尺寸1000x941
一种静音水暖毯,垫
图片尺寸886x555
一种节能舒适水暖毯的制作方法
图片尺寸1000x702
一种新型水暖毯的制作方法
图片尺寸1000x605
一种水暖毯主机水泵减振方法与流程
图片尺寸653x1000