水杯bom结构图

不锈钢保温杯结构图
图片尺寸388x227
三,什么材质的保温杯才是健康安全的?
图片尺寸890x441
一种保温杯
图片尺寸1776x2502
热水|这种保温杯已遭央视曝光,倒入热水变毒水,不少
图片尺寸640x354
bom的编制与管理
图片尺寸663x462
一种带有定时提醒功能的水杯的制作方法
图片尺寸820x1000
一种旋转式水杯的制作方法
图片尺寸585x1000
物料清单(bom) 2
图片尺寸608x665
一种双层保温杯的制作方法
图片尺寸1000x828
杯是能够长时间使其容纳的物质保持一定温度的容器,一般是指保温水杯
图片尺寸918x1000
座椅bomppt课件
图片尺寸800x600
bom的数据结构及内涵
图片尺寸446x473
一种带有声控led灯的水杯制造技术
图片尺寸906x1000
cn204169563u_一种新型泡茶保温杯有效
图片尺寸753x1000
上大家非常熟悉的55度相变降温水杯采用的是双层内外胆中空夹层结构
图片尺寸600x1000
一种新式水杯结构制造技术
图片尺寸761x1000
一种具有防烫性能的饮用水杯制造技术
图片尺寸666x1000
一种密封效果好的保温杯的制作方法
图片尺寸789x1000
三分钟理解各型的bom
图片尺寸1326x956
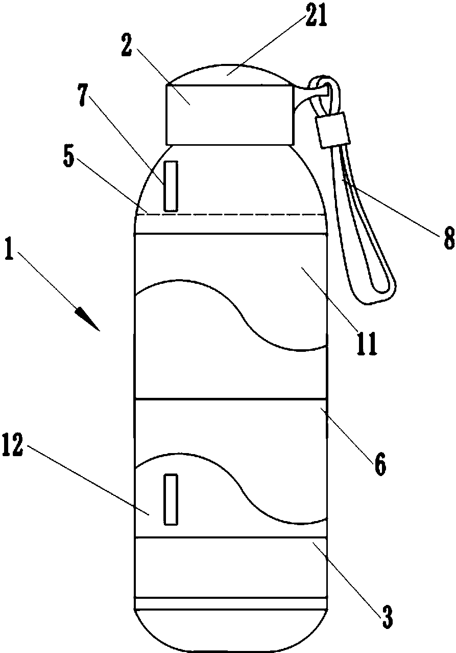
一种便携式水杯
图片尺寸893x1277