水泥墩大样

混凝土防撞墩构造大样图设计(1张)
图片尺寸610x432
防撞墩材料用量表,预制盖板配筋大样图,dwg格式,可以直接使用2分27
图片尺寸610x466
非常详细的水泥隔离墩大样图cad图设计
图片尺寸610x432
钢筋砼隔离墩护栏安全设施
图片尺寸610x417
混凝土防撞墩构造大样图
图片尺寸349x275
镇墩计算电子表格
图片尺寸1440x1020
某墩基础大样节点构造详图
图片尺寸1057x750
一种轻型节段预制桥墩制作及现场拼装工艺
图片尺寸1566x1720![[提问]路桥花瓶墩体积怎么算](https://i.ecywang.com/upload/1/img0.baidu.com/it/u=2948732599,3485769700&fm=253&fmt=auto&app=138&f=JPEG?w=500&h=375)
[提问]路桥花瓶墩体积怎么算
图片尺寸4032x3024
桥墩一般构造图.jpg
图片尺寸760x608
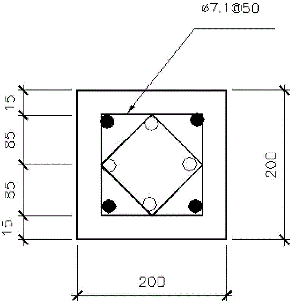
cn104047428a_一种增强高强混凝土墩柱延性的方法失效
图片尺寸964x1000
一种用于综合管廊排水管道的支墩
图片尺寸1000x959
给水管支墩一般多大
图片尺寸875x631
梁翻墩大样
图片尺寸760x573
这个固定墩的钢筋和混凝土怎么计算
图片尺寸1239x763
管桥支墩设计详图
图片尺寸527x425
防撞墩大样图
图片尺寸1150x900
钢筋砼管镇墩支墩设计图
图片尺寸592x238
某建筑基础柱墩详细设计施工图
图片尺寸610x861
广州从化大桥工程桥墩景观及结构设计
图片尺寸935x993