水泥烟道模具

烟道模具
图片尺寸860x638
烟道模具 (18)1.jpg
图片尺寸860x638
厂家直销水泥预制通风烟道罩模具
图片尺寸1099x788
平顶山普通水泥烟道
图片尺寸400x325
住宅防火水泥烟道加工定制 grc厨房排烟道 混凝土通风-泰道
图片尺寸750x750
水泥烟道批发河源水泥烟道水泥制品查看
图片尺寸650x487
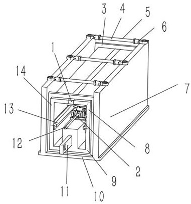
cn213533085u_一种烟道预制模具有效
图片尺寸381x407
烟道机各种规格型号可定制 水泥烟道机 烟道管模具-度小视
图片尺寸720x1280
水泥排气道 grc水泥烟道 grc厨房排气道-阿里巴巴
图片尺寸487x487
水泥烟道烟道成品烟道厨房排烟道专业生产烟道厨房烟道烟道烟道
图片尺寸2736x3648
安徽鑫芳缘建筑科技有限公司_安徽水泥机制烟道_安徽高密度烟道防火阀
图片尺寸1623x887
住宅厨房,卫生间水泥机制烟道
图片尺寸750x750
江苏管道模具生产厂家扬州如杨塑料模具供应
图片尺寸400x352
新型水泥机制烟道生产设备
图片尺寸2268x1701
grc机制水泥烟道
图片尺寸400x400
5#硅酸盐水泥为主要原材料,采用机制模具进行一次性振动成型的住宅
图片尺寸800x600
水泥流水槽钢模具现浇排水沟盖板u型槽模板定制农田灌溉水渠模具
图片尺寸300x300
超杰水泥板包管模具平板l型u型都能做
图片尺寸1080x1440
专业打造最划算的烟道机xcy最低价只此新成机械一家
图片尺寸700x748
水泥烟道机,目前建筑市场上的排气烟道主要采用模具,人工糊制
图片尺寸300x225