水泥窑分解炉

水泥窑分解炉解决方案模型
图片尺寸1000x750
水泥窑分解炉解决方案模型
图片尺寸1000x750
分解炉的工作原理
图片尺寸1242x1656
8米的分解炉内停留7秒,在高温和碱性环境的作用下充分分解后排出
图片尺寸660x880
水泥窑分解炉解决方案模型
图片尺寸1000x750
高温设备:水泥厂分解炉的隔热保温,减少热量散失,节能降耗
图片尺寸630x932
水泥窑预热器和分解炉系统用 耐火浇注料的烘烤
图片尺寸1024x1280
分解炉_山西金虎水泥有限责任公司
图片尺寸639x375
应用场景广泛,包括建材行业的水泥窑熟料煅烧,分解炉预分解,陶粒煅烧
图片尺寸1080x1050
水泥窑一天最多可以处置多少吨废弃物?
图片尺寸427x447
医废围城——水泥窑抗"疫"有实力
图片尺寸1052x731
分解炉的工作原理
图片尺寸920x690
水泥厂窑外分解窑提产节能降耗
图片尺寸1080x1440
带预燃室分解炉分级燃烧示意图先在分解炉的还原区内
图片尺寸814x599
窑尾分解炉喷煤系统的再燃改造
图片尺寸396x552
水泥回转窑煅烧时分解炉内的变化
图片尺寸902x367
水泥生产中如何优化分解炉与窑头之间的煤耗分配
图片尺寸912x513
分解炉
图片尺寸487x649
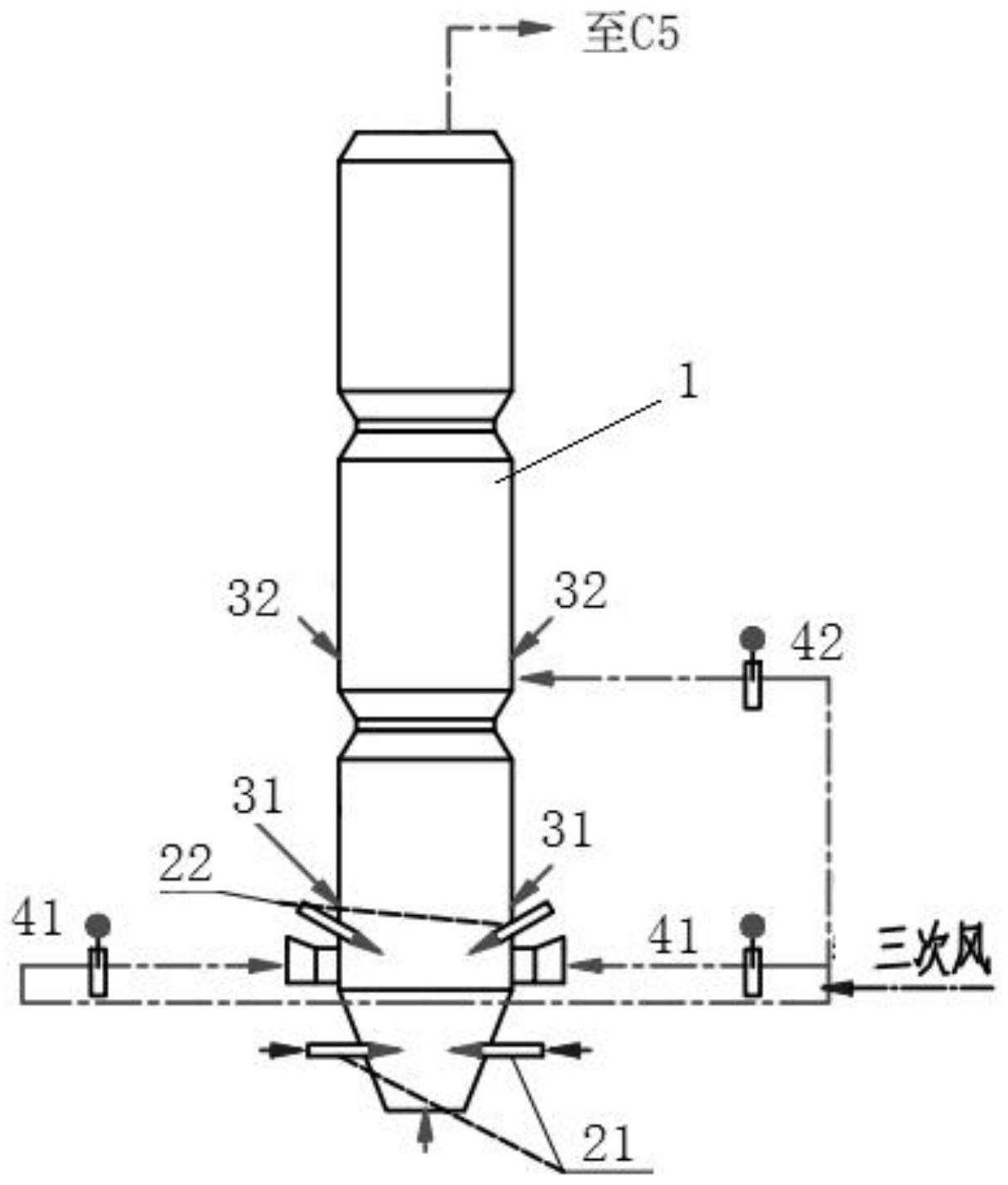
一种降低水泥分解炉氮氧化物的分解炉及方法
图片尺寸1214x1427
分解炉预热器
图片尺寸800x800