水泵控制原理图

电接点压力表控制水泵原理图
图片尺寸515x324
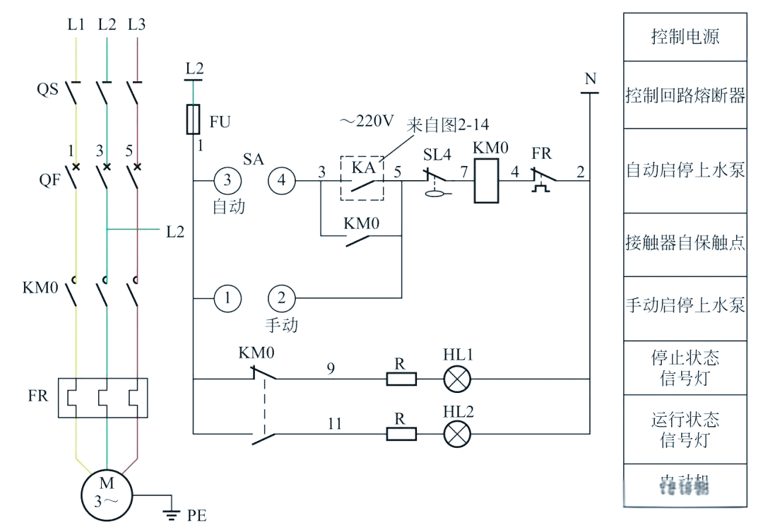
一台电机,两个继电器,一个接触器,球阀控制三相水泵电气原理图
图片尺寸677x506
水泵控制原理图
图片尺寸248x200
冷却塔冷冻水泵控制原理图
图片尺寸770x547
水池水泵自动抽水控制电路,简单实用,电工电子实践,不要错过!
图片尺寸600x518
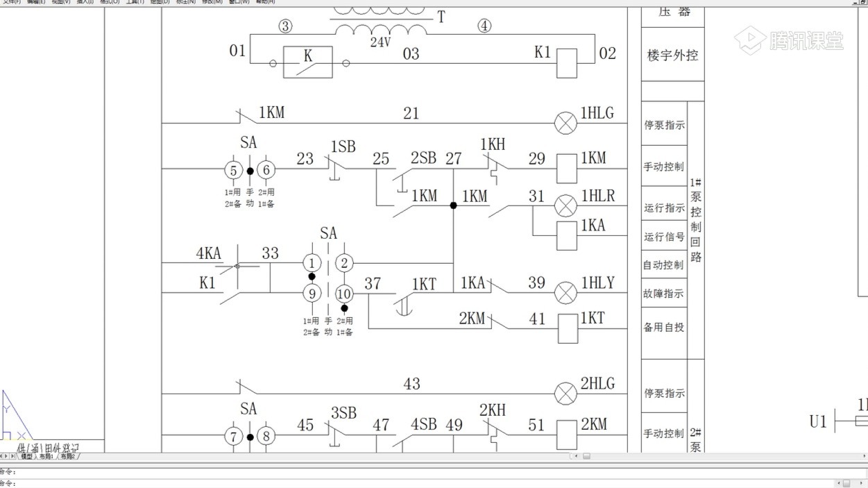
kb0-cc-54两台互备供(补)水泵自动轮换控制电路图
图片尺寸1311x927
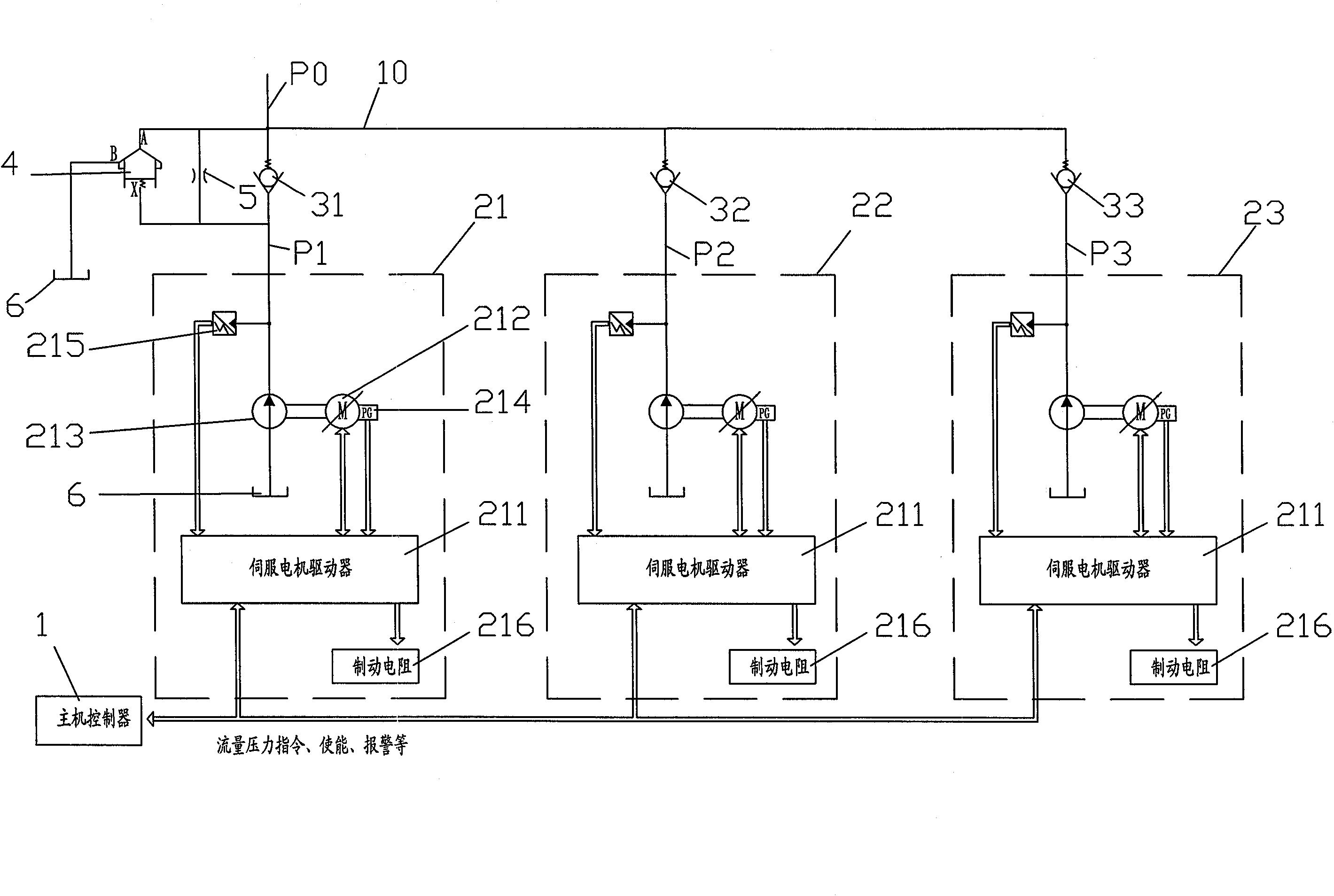
一种排水泵双浮球自动控制系统的制作方法
图片尺寸1000x608
一个水泵控制电路的问题
图片尺寸822x513
常用消防排水泵控制原理图
图片尺寸560x472
双水泵轮换工作原理图消防水泵控制柜机械应急启泵如何实现
图片尺寸586x503
电接点压力表控制的水泵原理图
图片尺寸700x496
排水泵控制原理图
图片尺寸290x223
排水泵控制电气原理图
图片尺寸378x354
水泵主电控箱控制原理图
图片尺寸482x459
有两台水泵一用一备,现设计以个控制电路要求
图片尺寸572x356
两用一备水泵二次控制回路
图片尺寸597x887
几种常用水泵控制原理图
图片尺寸311x251
水泵控制电路及水泵
图片尺寸1761x1785
水池水泵自动抽水控制电路,简单实用,电工电子实践,不要错过!
图片尺寸640x514
水泵控制电路原理图
图片尺寸501x327