水泵构造原理图

泵的工作原理及广泛应用深度解析
图片尺寸720x1280
fub系列工程塑料离心泵 fub全塑型耐酸泵 废水提升泵
图片尺寸750x939
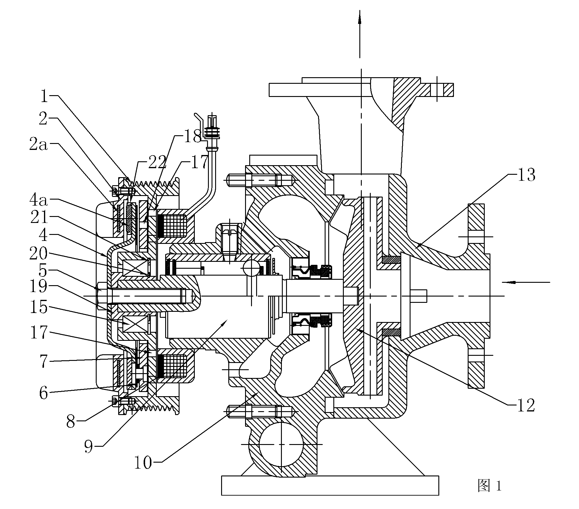
双吸泵装配图
图片尺寸2265x3033
立式无油往复真空泵工作原理及应用
图片尺寸976x1300
水环真空泵的工作原理与结构详解
图片尺寸1080x771
方式:3叶轮数目:闭式叶轮结构:淤泥
图片尺寸750x1018
高速泵使用及维护检修,可
图片尺寸1080x810
离心泵工作原理
图片尺寸920x1302
离心泵原理揭秘💦效率高到离谱!
图片尺寸1270x762
来,一起聊一聊给水泵
图片尺寸640x900
消防水泵设置拆解结构图及泵房
图片尺寸640x1062
直联式自吸排污泵 铸铁无堵塞排污自吸泵 zwl50
图片尺寸750x1312
威乐wilo水泵helix v408剖面图与安装说明#wil
图片尺寸5102x6874
隔膜泵的工作原理与构造详解
图片尺寸1204x1296
柱塞计量泵的构造,原理及检修方法详解
图片尺寸1024x825
污水泵系统示意图及功能解析 本示意图展示了一套配
图片尺寸500x1100
江苏旺远泵业有限公司
图片尺寸800x992
调速水泵
图片尺寸1935x1701
动画演示离心泵与多级离心泵的工作原理及特点
图片尺寸890x612
lemmaid="53562">离心泵就是根据离心力原理
图片尺寸1047x703