水浴加热手绘图

热水池浴插画_热水池浴手绘插画_插画设计网站-veer图库
图片尺寸612x348
一种水浴加热装置的制作方法
图片尺寸1000x690
一种化工反应用水浴加热装置
图片尺寸753x1000
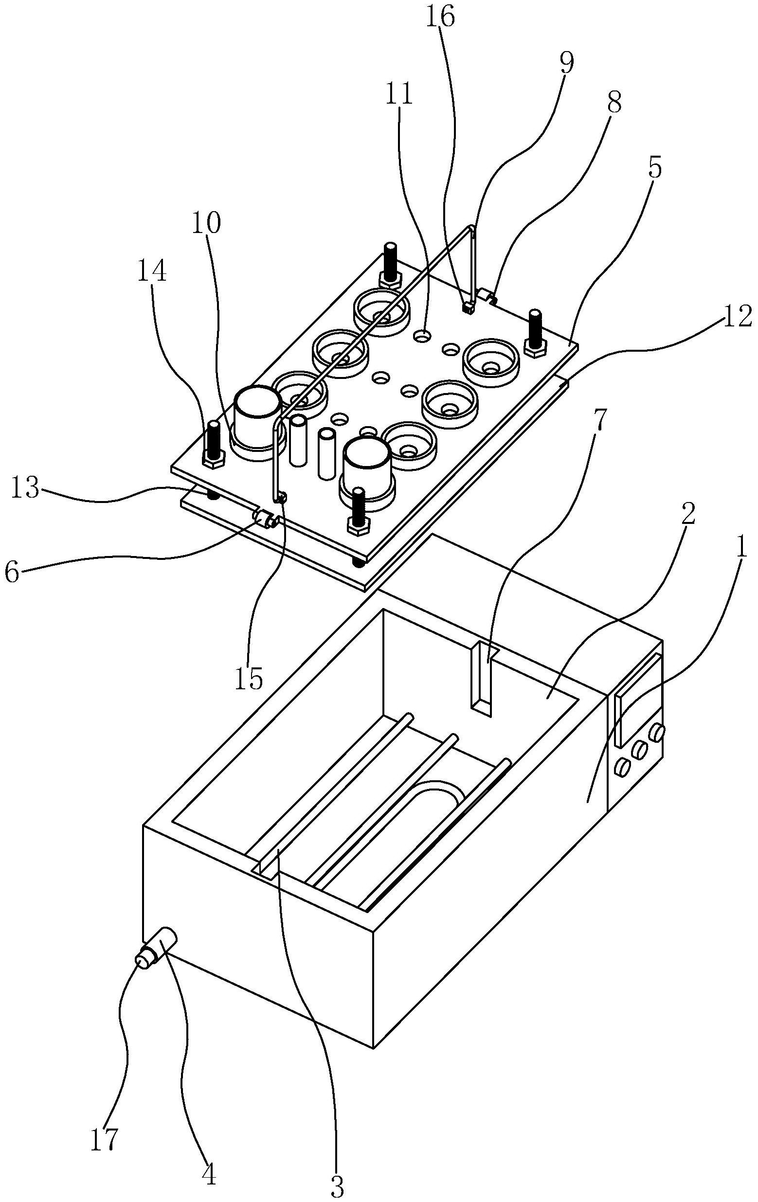
一种电热水浴加热锅
图片尺寸1558x2471
一种节能型水浴加热中药装置的制作方法
图片尺寸1000x823
一种自动加水恒温水浴锅-爱企查
图片尺寸800x631
一种恒温水浴加热装置
图片尺寸320x467
一种低温恒温水浴-爱企查
图片尺寸670x799
一种分离式具有加热温控功能的循环水浴装置的制作方法
图片尺寸1000x836
一种实验室用试管水浴加热设备的制作方法
图片尺寸407x444
一种环境监测用水浴加热装置-爱企查
图片尺寸760x800
靴套制备用水浴加热装置的制作方法
图片尺寸414x443
一种用于生产糠酸莫米松凝胶的水浴加热装置制造方法及图纸
图片尺寸381x306
一种水浴加热装置 - cn201710034184.
图片尺寸710x1000
cn211487753u_一种均匀加热的水浴锅有效
图片尺寸872x1000
一种水浴式自动搅拌熬糖机-爱企查
图片尺寸260x260
一种带有稳定架的水浴加热设备的制作方法
图片尺寸446x295
一种数显恒温水浴锅的制作方法
图片尺寸1000x790
一种新型水浴加热装置的制作方法
图片尺寸323x474
一种制作有机载体的水浴加热装置-爱企查
图片尺寸408x602