水渠简笔画

沟渠的树简笔画
图片尺寸378x331
插画 |旅游景点速写河南少林寺元素 |著名建筑中央电视台总部大楼
图片尺寸450x300
灵渠小考——兼与古驿道之合力
图片尺寸588x578
线描水库
图片尺寸610x388
景晖接到灾情,即往通济堰视察,并委派丽水县尉姚希主持修理大堰和水渠
图片尺寸904x662
故乡的那山那水那人
图片尺寸643x430
渠水清清
图片尺寸1772x709
一套灌溉图标插画-正版商用图片0tnfpd-摄图新视界
图片尺寸700x700
栏杆河流简笔画
图片尺寸700x421
有关简笔画水电的
图片尺寸500x500
画水井长江简笔画图片 长江怎么画的水沟的简笔画水渠怎么画简笔画
图片尺寸500x421
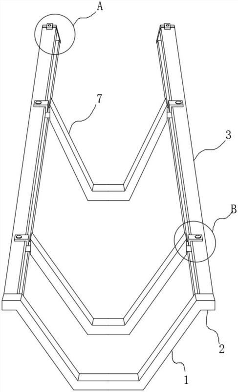
一种可周转使用水渠模板装置-爱企查
图片尺寸487x800
清澈的小河简笔画怎么画,图片,简笔画-学笔画
图片尺寸500x360
被填平的水渠揭示了金字塔的建造秘密
图片尺寸1080x1025
东风渠的简笔画
图片尺寸500x514
河流景观简笔画图片
图片尺寸800x618
东江水坝简笔画
图片尺寸500x1304
画说兵团沧海横流见英雄本色兵团发展历史连环画之二十五
图片尺寸640x445
水灌溉简笔画
图片尺寸343x270
商标logo
图片尺寸800x676