水稻装置

五谷杂粮装饰工艺品仿真小麦穗稻谷舞蹈道具水稻装潢工程场景布置
图片尺寸800x799
水稻灯灯光节亮化工程景观灯装饰灯-淘宝网互动装置可乐噗同采自item
图片尺寸658x877
麦穗仿真花灯 麦子仿真花灯 水稻灯 稻谷芦苇灯
图片尺寸750x2252
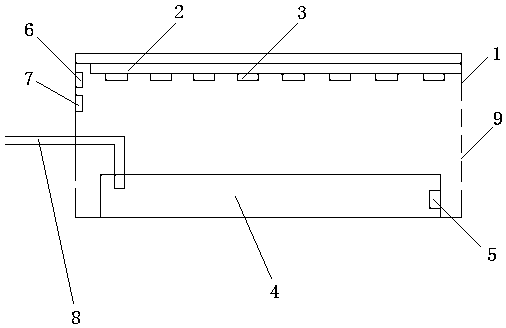
一种室内的水稻种植装置
图片尺寸506x328
亿森2fhf8水稻侧深施肥机
图片尺寸800x600
手拉式水稻播种机不锈钢种子点播机水稻直播机可调株距
图片尺寸750x750
全国唯一水稻博物馆在长沙正式开馆 袁隆平出席开馆仪式并致辞
图片尺寸750x561
德棵2fhcj-1.8型侧深施肥机水稻插秧机
图片尺寸600x450
水稻插秧机
图片尺寸504x377
水稻设备照片
图片尺寸450x300
(图为农户进行水稻机械插秧)
图片尺寸640x443
创新型水稻抛秧装置
图片尺寸763x687
水稻灯麦穗灯led景观灯草坪地插灯园林景观美陈亮化装饰灯
图片尺寸750x853
一种恒温型的便捷式水稻烘干装置
图片尺寸1000x975
谷王pq45水稻收割机
图片尺寸600x449
一种水稻种子抛散装置
图片尺寸614x607
玖成合作社快速育秧车间里,整齐地摆放着育秧箱,刚刚萌发出的水稻
图片尺寸1280x851
水稻气雾栽培
图片尺寸640x427
房车初体验,就在三亚水稻国家公园
图片尺寸640x426
明日立秋钱塘新区2100余亩水稻熟了
图片尺寸720x405