水蒸汽蒸馏法

水蒸气蒸馏技术
图片尺寸1107x630
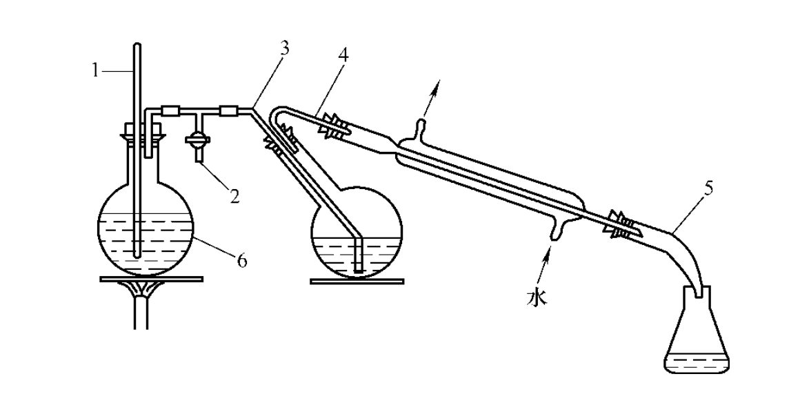
水蒸气蒸馏法装置图
图片尺寸532x455
水蒸气蒸馏技术
图片尺寸912x450
如图是提取玫瑰精油的水蒸气蒸馏装置图和提取胡萝卜素的装置图,分析
图片尺寸1291x876
三口烧瓶蒸馏装置图_水蒸气蒸馏装置图_实验室蒸馏装置图
图片尺寸479x286
该法适用于具有挥发性,能随水蒸气蒸馏而不被破坏,在水中稳定且难溶或
图片尺寸960x635
如图是提取玫瑰精油的水蒸气蒸馏装置图和提取胡萝卜素的装置图,分析
图片尺寸873x1152
水蒸气蒸馏ppt
图片尺寸1080x810![玫瑰 >列表1[连线题] 下图是用水蒸气蒸馏法提取玫瑰精油的装置图,请](https://i.ecywang.com/upload/1/img2.baidu.com/it/u=2895654225,3944791419&fm=253&fmt=auto&app=138&f=JPEG?w=269&h=173)
玫瑰 >列表1[连线题] 下图是用水蒸气蒸馏法提取玫瑰精油的装置图,请
图片尺寸269x173
水蒸气蒸馏技术
图片尺寸1178x807
如图是玫瑰油提取的水蒸气蒸馏装置图和胡萝卜素提取的装置图,分析
图片尺寸464x206
水蒸气蒸馏装置图简笔画
图片尺寸299x223
八角茴香的水蒸气蒸馏
图片尺寸746x606
水蒸气蒸馏装置
图片尺寸324x450
分类 自然科学 化学 水蒸气蒸馏ppt 第六章 水蒸气蒸馏法提取天然香料
图片尺寸1080x810
水蒸气蒸馏法装置图
图片尺寸412x221
水蒸气蒸馏装置图简笔画
图片尺寸378x235
天竺葵纯露是用水蒸气蒸馏法从新鲜的天竺葵枝叶蒸馏得到的含大量水溶
图片尺寸1080x810
水蒸气蒸馏ppt
图片尺寸1080x810
水蒸气蒸馏技术
图片尺寸560x635