水表安装图集01ss105

大口径无线远传水表安装示意图
图片尺寸700x372
安装示意图注意事项:同一个系统中,脉冲远传水表的表计地址不能重复
图片尺寸672x432
家里水表转很快教你4招每月能省下一半的水费现在知道还不算晚
图片尺寸1080x683
还是跟水表规格一样大?
图片尺寸1168x834
超声波水表安装示意图
图片尺寸560x218
dn200ic卡预付费大口径智能水表铸铁分体式球阀旋翼式大口径水表
图片尺寸790x550
大口径水表安装示意图
图片尺寸621x181
水表箱内水表安装节点(单,双表位)
图片尺寸851x436
水表安装示意图
图片尺寸560x284
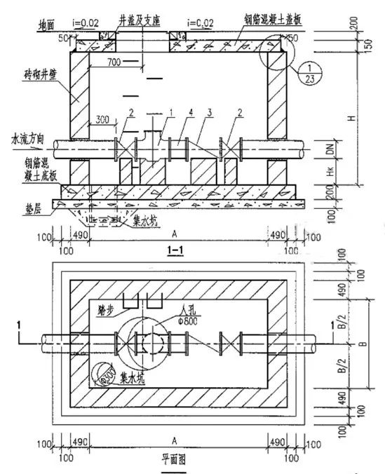
图1中水表井参照图集05s502-136页图中水表,止回阀,闸阀清单中描述
图片尺寸1282x903
图1中水表井参照图集05s502-136页图中水表,止回阀,闸阀清单中描述
图片尺寸1330x861
水表安装图
图片尺寸479x629
干货分享之景观水表井内阀门及部件介绍
图片尺寸684x863
01ss105给排水常用仪表及特种阀门安装图集pdf格式免费版
图片尺寸993x695
5万户居民受益|供水|天通苑|管网_新浪新闻
图片尺寸700x828
河北翔源仪表科技有限公司,是一家专业专门从事水表,热量表(冷热计量
图片尺寸1680x2370
北京智能水表厂告诉您安装水表时注意事项
图片尺寸484x300
水平旋翼式水表图片螺翼式水表图片2022已更新今日资讯
图片尺寸474x326
无旁通有止回水表井及安装图
图片尺寸1440x1020
干货分享之景观水表井内阀门及部件介绍
图片尺寸549x676