水表安装示意图

大口径无线远传水表安装示意图
图片尺寸700x372
超声波水表安装示意图
图片尺寸680x237
旋翼半液封式防滴漏冷水水表价格 lxsy-15b~20b
图片尺寸719x303
水表家用旋翼式宁波高灵敏机械防倒转自来水表立式防冻4分6分水表dn15
图片尺寸790x676
入户水表示意图
图片尺寸550x367
ic卡智能水表安装注意事项
图片尺寸520x216
安装示意图注意事项:同一个系统中,脉冲远传水表的表计地址不能重复
图片尺寸672x432
水表箱内水表安装节点(单,双表位)
图片尺寸851x436
浅析关于智能水表的安装方法
图片尺寸483x213
水表安装示意图
图片尺寸560x284
一条出水管,中间并联安装两组或以上的水表,这种配表设计一般会应用在
图片尺寸980x646
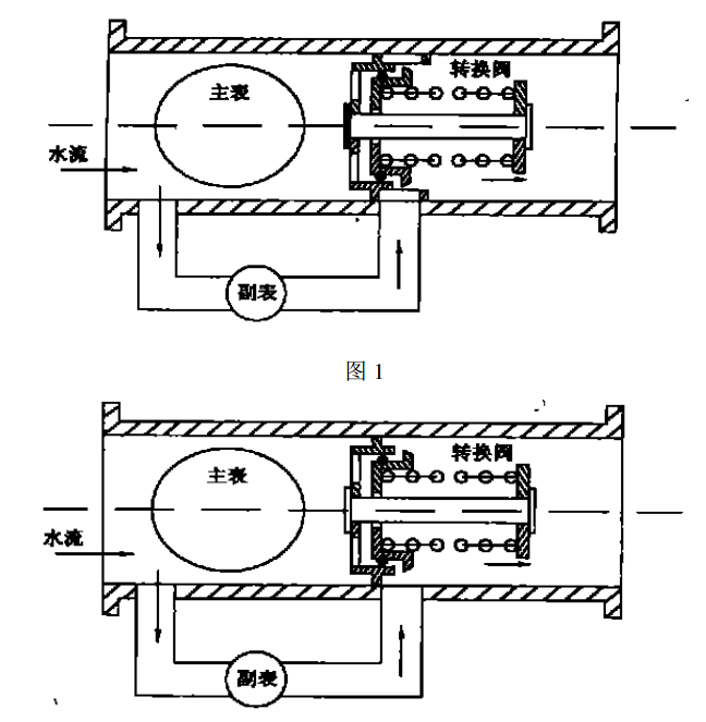
复式水表
图片尺寸984x323
水表安装尺寸示意图,水表规格尺寸图片_大山谷图库
图片尺寸700x494
供应水表 旋翼湿式发讯冷水水表 智能水表 水表厂价
图片尺寸630x186
超声波水表安装位置的选择
图片尺寸609x207
热量表的安装与水表的安装不同之处
图片尺寸742x401
子母水表
图片尺寸648x663
厂家介绍dn15dn40超声波水表相关参数与安装问题总结介绍
图片尺寸776x523
大口径ic卡预付费水表使用说明书_深圳亿玛信诺水电表厂家
图片尺寸723x311
案例分析丨水表口径选择不恰当
图片尺寸969x705