水车图纸

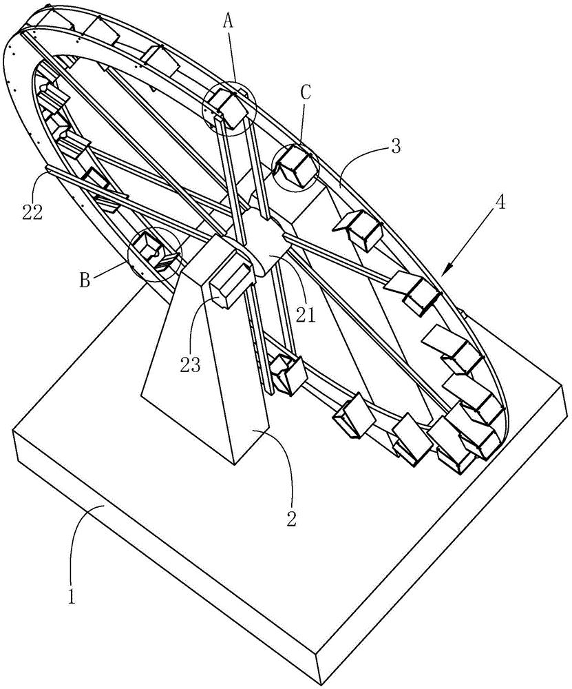
一种安全可靠的大水车的制作方法
图片尺寸955x1000
一种水利发电用小型水车设备的制作方法
图片尺寸863x1000
风轮水车
图片尺寸1000x908
水车cad详图
图片尺寸800x1131
本图纸为:水车节点大样图,设计规范,内容详实,可供设计师参考学习.
图片尺寸610x432
水车cad图纸素材
图片尺寸800x1131
水车基础施工图
图片尺寸1203x1701
马钧的龙骨水车
图片尺寸1152x720
一种水车
图片尺寸1443x1239
一种新型水车的制作方法
图片尺寸390x444
某城市水车设计方案图
图片尺寸610x861
水车
图片尺寸640x480
一种水生态修复景观水车系统
图片尺寸831x1000
水车做法详图
图片尺寸560x409
分享水车施工图纸资料下载
图片尺寸254x293
cn212135780u_一种模拟古代水车的教学装置有效
图片尺寸995x1000
水车施工详图
图片尺寸560x560
本工程为水车设计方案图,包含剖面图,平面图,立面图等,图纸内容完整
图片尺寸610x432
活塞式龙骨水车的制作方法
图片尺寸1000x776
某水车建筑设计参考详图
图片尺寸1440x1020