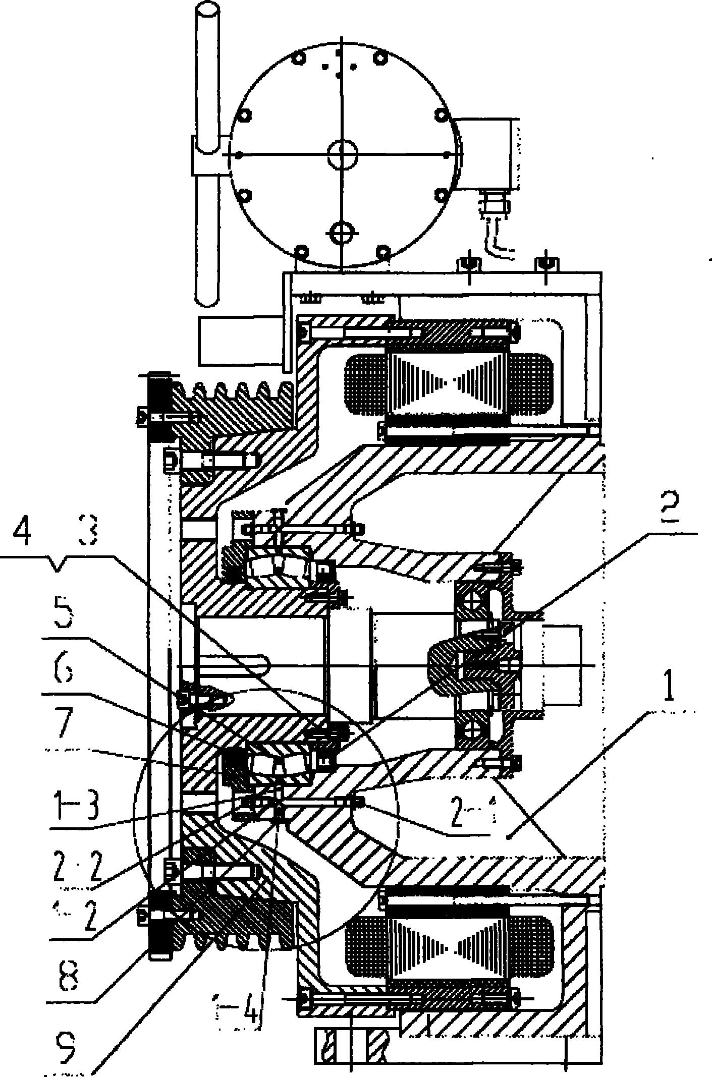
永磁同步曳引机分解图

一种永磁同步曳引机-爱企查
图片尺寸1410x1840
薄型永磁同步无齿轮曳引机-爱企查
图片尺寸1221x1670
x永磁同步曳引机-爱企查
图片尺寸1411x2135
cn212559034u_一种无齿轮永磁同步超重载的曳引机有效
图片尺寸1537x1428
永磁同步无齿轮曳引机-爱企查
图片尺寸2539x1413
永磁同步无齿曳引机轴承应用技术
图片尺寸509x372
编码器前置碟式超薄永磁同步曳引机的制作方法
图片尺寸1000x856
无机房永磁同步曳引机-爱企查
图片尺寸1214x1775
2-500永磁同步电梯曳引机通力1比1主机制动器直径500mm
图片尺寸800x800
一种永磁同步无齿轮曳引机-爱企查
图片尺寸1844x1952
一种直驱式永磁同步电梯曳引机-爱企查
图片尺寸1442x2085
永磁同步无齿轮曳引机培训ppt
图片尺寸1080x810
永磁同步电机的综合效益
图片尺寸1080x403
广东威得利电梯有限公司yj系列曳引机使用维
图片尺寸1024x1448
永磁同步无齿曳引机
图片尺寸445x271
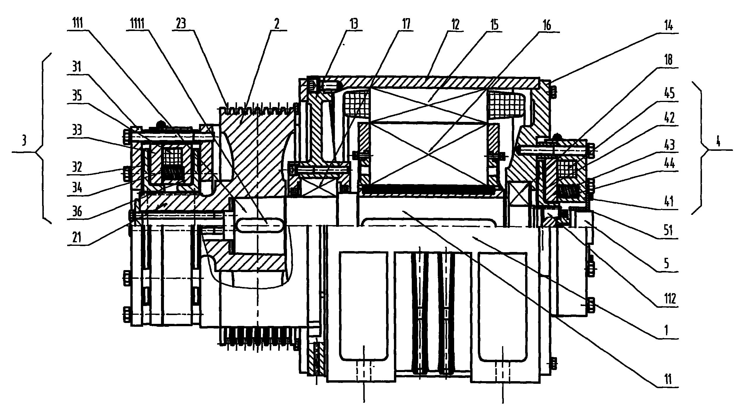
我公司生产的无齿轮永磁同步电梯曳引机(以下简称曳引机),包括内转子
图片尺寸557x410
一种无齿轮永磁同步超重载的曳引机的制作方法
图片尺寸1000x928
小型永磁同步无齿轮曳引机
图片尺寸2524x1428
桥式结构电梯曳引机
图片尺寸1949x1659
卸载轮式交流永磁同步曳引机
图片尺寸1494x1184