污水处理装置图

废水处理污水处理设备.甘肃污水处理设备 达标 设计 厂家 - 抖音
图片尺寸1151x734
甘肃污水处理设备公司-一体化污水处理设备污水处理技术和设计理念
图片尺寸700x399
生活污水处理设备.#生活污水处理设备 #生活污水处理设备厂家 - 抖音
图片尺寸1200x760
【水处理】水环境治理综合服务,污水一体化管控平台
图片尺寸5580x2388
zm-wsz-ao-无动力地埋式一体化污水处理设施装置
图片尺寸2984x1924
船舶生活污水处理装置的有关要求和检查要点
图片尺寸642x364
常见生活污水处理ao,a2o,mbr工艺解析 一,污水处理ao工艺 也叫厌氧好
图片尺寸1194x1280
a/o污水处理模拟实验装置
图片尺寸804x410
餐饮污水处理装置
图片尺寸700x700
养殖场污水处理设备有哪些?长沙肯迪
图片尺寸3808x2010
地埋式城市污水处理设备
图片尺寸2338x1700
医院用生活污水处理设施价格
图片尺寸750x567
船舶生活污水处理装置 - marine sewage treatment plant working
图片尺寸1728x1080
船用生活污水处理系统
图片尺寸691x508
污水处理自动加药装置
图片尺寸830x441
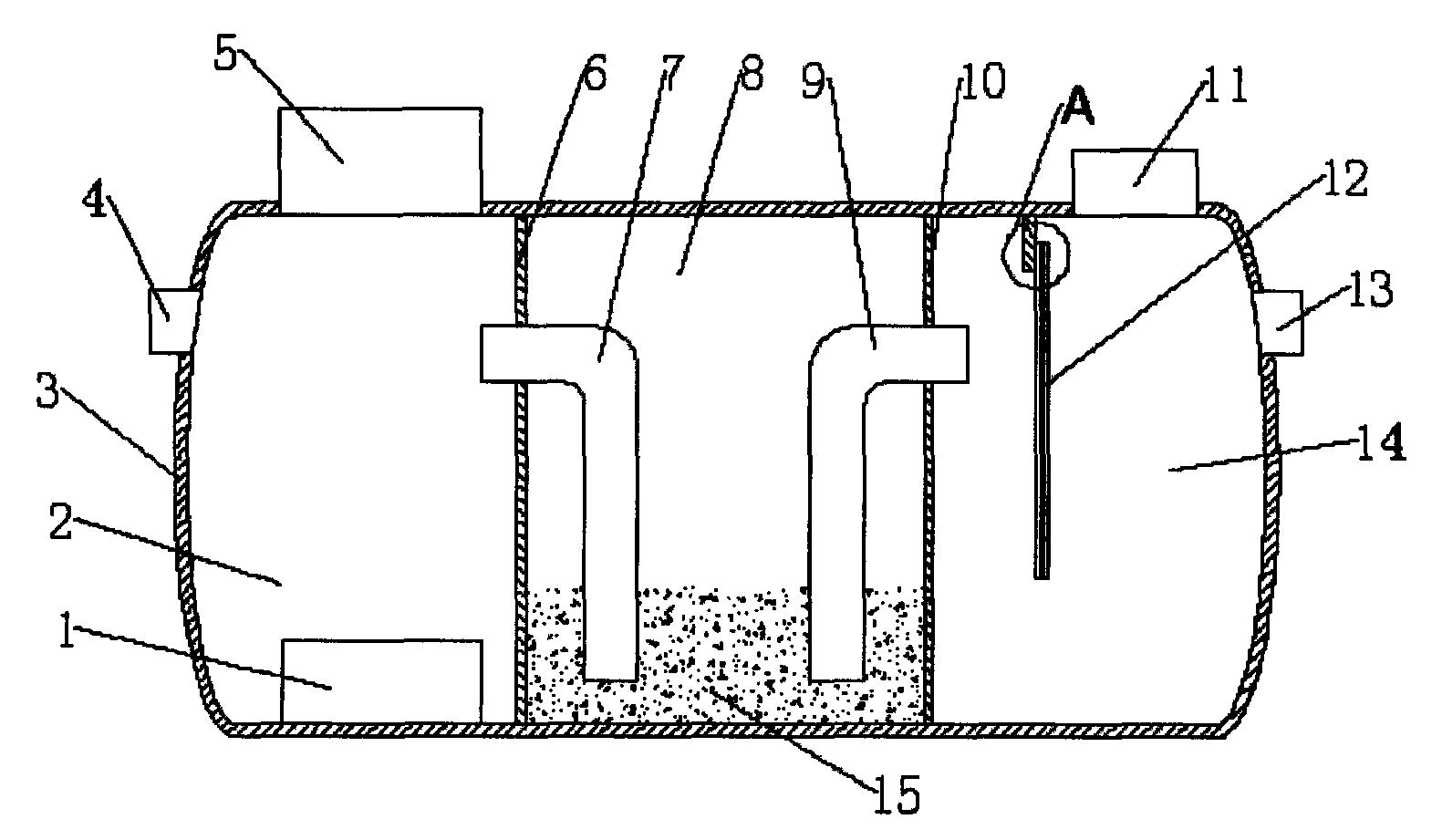
x无动力污水处理装置-爱企查
图片尺寸1581x921
承压式一体化冶金污水净化处理装置
图片尺寸1612x2312
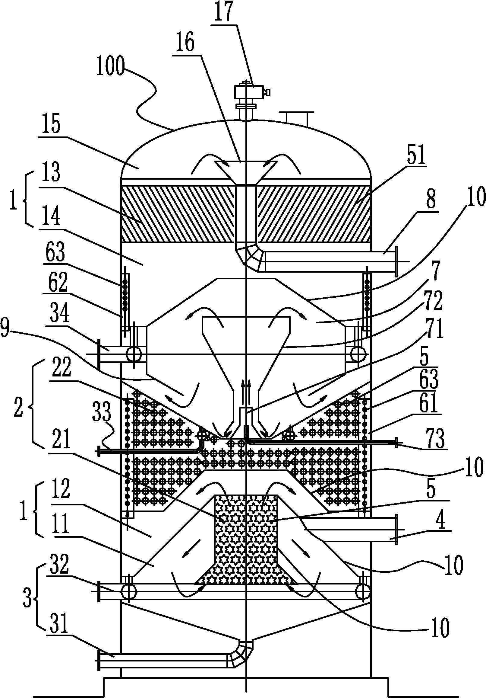
一种具有污泥减量及磷资源回收特性的污水处理装置
图片尺寸1334x2512
农村生活污水处理,禹顺环保更在行
图片尺寸4032x2246
甘肃省内一体化污水处理设备,水处理设备,气浮机等核心领域生产制造
图片尺寸4096x4096