污水过滤器设计图

微孔膜滤芯用卫生级过滤器外壳技术要求
图片尺寸2480x3507
微孔膜滤芯用卫生级过滤器外壳技术要求
图片尺寸2480x3507
过滤系统diy_2.gif
图片尺寸1754x1240
一种硅藻土过滤器-爱企查
图片尺寸1752x2328
一种立式轴流泵型核桃壳过滤器-爱企查
图片尺寸1814x2074
重力式无阀过滤器
图片尺寸800x527
863过滤器系统工艺流程图
图片尺寸610x420
一种易更换滤芯的精密过滤器
图片尺寸1577x2240
一种污水过滤处理装置-爱企查
图片尺寸1586x1698
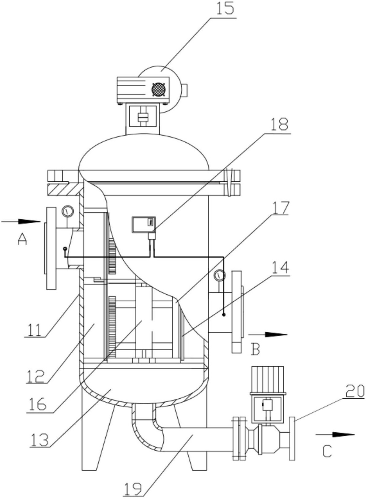
一种除污效果好的污水过滤器的制作方法
图片尺寸723x1000
cn212347851u_高速过滤器有效
图片尺寸1851x2412
多介质过滤器的设计原理解析_污水处理设备-陈工15927391146
图片尺寸800x479
本实用新型涉及石英砂过滤器技术领域,具体为一种石英砂多级过滤装置.
图片尺寸1137x1541
一种自洁式双联过滤器-爱企查
图片尺寸1086x902
zw-dg-du-双联多联袋式过滤器
图片尺寸2200x1700
浅层砂过滤器
图片尺寸1264x2440
污水过滤器
图片尺寸1195x1631
浅层砂过滤器操作步骤-2023西部成都国际工程机械展览会-官方网站
图片尺寸640x375
一种反冲洗过滤器
图片尺寸1958x1643
篮式过滤器
图片尺寸516x992