污泥斗设计图

一种污泥卸料斗制造技术
图片尺寸930x1000
nd电动/气动污泥斗
图片尺寸595x819
污泥斗
图片尺寸2410x1621
污泥卸料斗
图片尺寸1892x1309
新型自动污泥斗
图片尺寸1127x1143
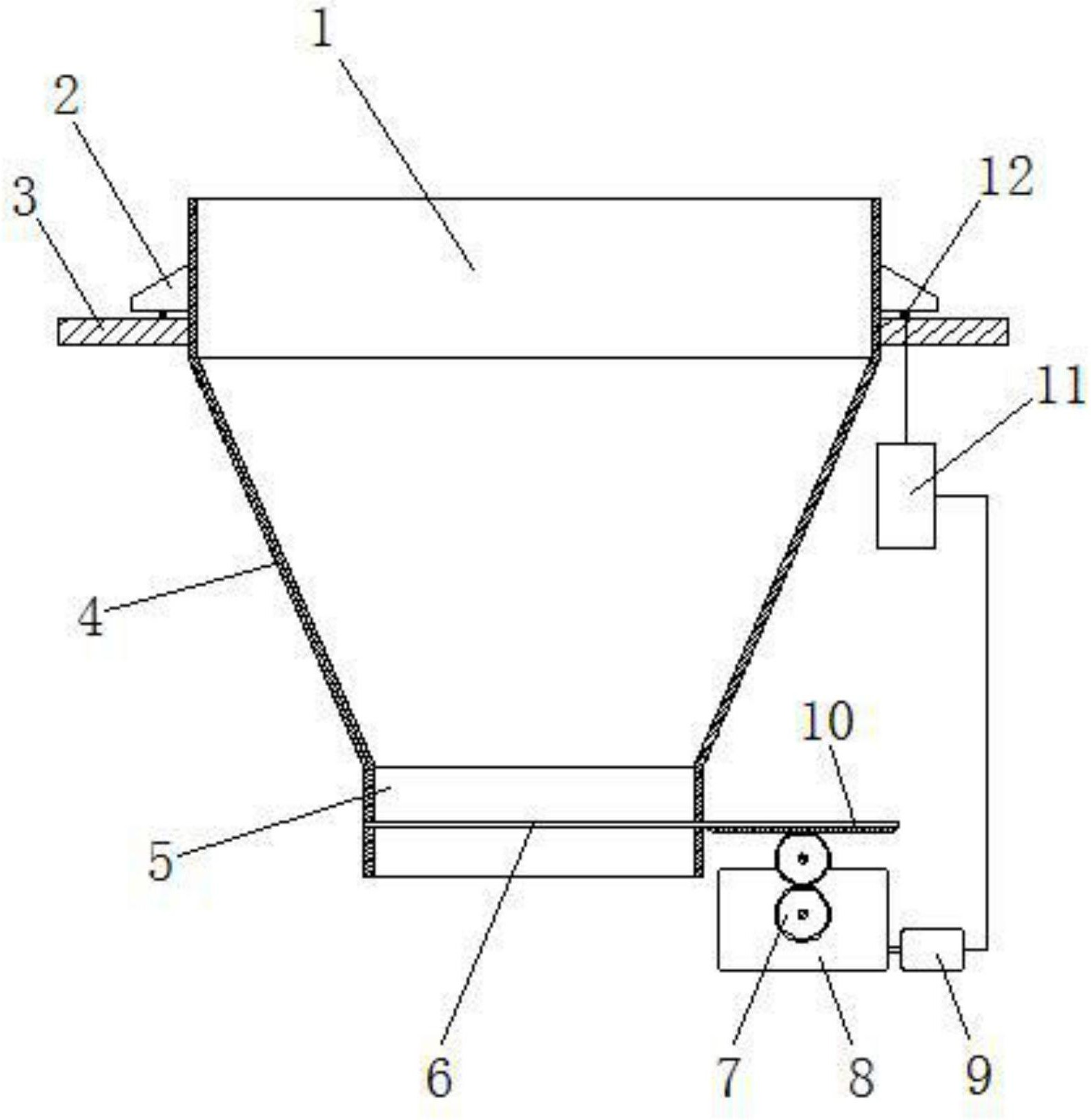
污泥斗
图片尺寸933x387
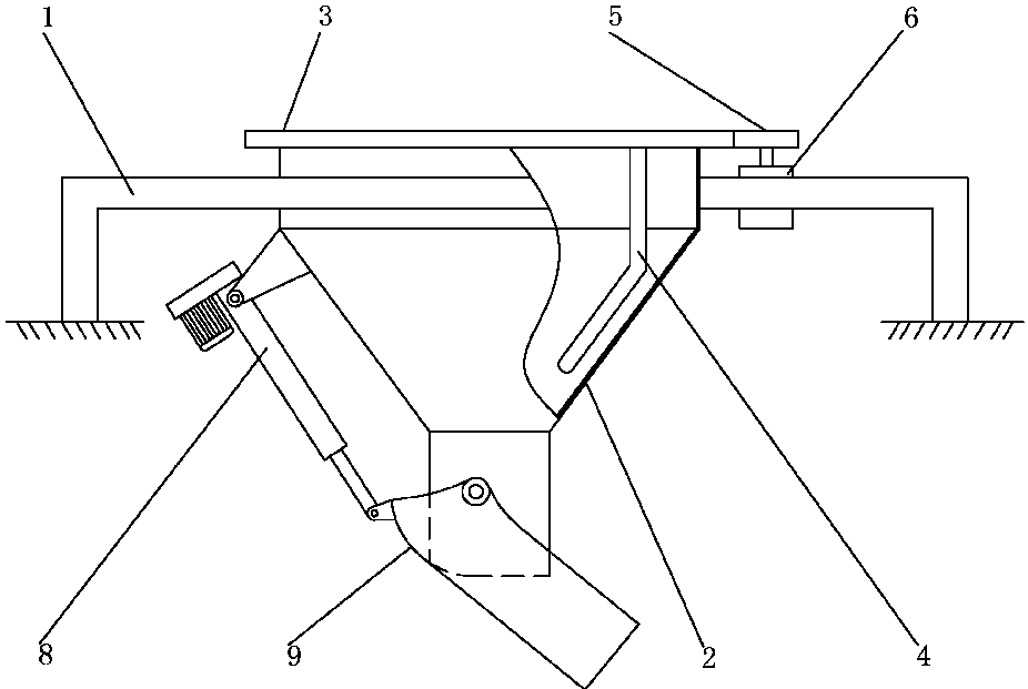
自卸料式污泥斗装置
图片尺寸1581x1624
一种污泥斗的制作方法
图片尺寸1000x856
一种储泥斗
图片尺寸965x1000
150立方米港口料斗
图片尺寸264x373
污泥储斗止水结构
图片尺寸1458x2268
污泥斗的特点与使用方法
图片尺寸500x357
一种带破碎功能的污泥斗的制作方法
图片尺寸435x716
一种电动刀形闸阀污泥斗的制作方法
图片尺寸1000x702
一种新型污泥斗
图片尺寸926x621
5立方污泥斗
图片尺寸318x468
cn87205111u_混凝土料斗失效
图片尺寸1504x1975
厌氧流化床用排泥污泥斗
图片尺寸1727x2179
泥斗10吨20吨30吨液压储泥斗 压滤机泥斗 污泥斗仓 室外污泥斗
图片尺寸1280x905
用于码头接卸料的除尘漏斗的制作方法
图片尺寸872x1000