汪文耀

首页-山东人大门户网站
图片尺寸413x636
济南市政法系统 "万警进万企"行动动员部署视频会议召开|视频会议|政
图片尺寸550x388
驻聊全国 省人大代表视察团到高新区视察
图片尺寸600x400
中共聊城市委副书记,市长王忠林及市人大第一副主任汪_山东凤祥乳业有
图片尺寸500x347
孙爱军参加阳谷县代表团审议时强调 引导企业深入实施制造业技改攻坚
图片尺寸900x576
探索环保科技边界 金亚润以创新赢未来-国际环保在线
图片尺寸600x355
驻聊全国 省人大代表视察团到高新区视察
图片尺寸600x400
驻聊全国 省人大代表视察团到高新区视察
图片尺寸600x400
申长海_百度百科
图片尺寸156x200
山东省十二届人大四次会议在济南胜利闭幕 山东新闻|半岛网
图片尺寸1024x614
小学部 | 向善向上 榜样引领_阳光未来国际学校
图片尺寸1080x720
庆祝建校40周年校地共谋发展座谈会隆重召开_40年校庆网站
图片尺寸960x591
小学部 | 向善向上 榜样引领_阳光未来国际学校
图片尺寸1080x720
汪姓男孩霸气取名大全2021属牛-百家姓起名-起名网
图片尺寸464x308
市人大常委会第一副主任汪文耀来新凤祥集团调研_山东凤祥乳业有限公
图片尺寸500x323
越剧经典剧目《红楼梦》王志萍,钱惠丽版-磁带/卡带-7788收藏
图片尺寸1280x960
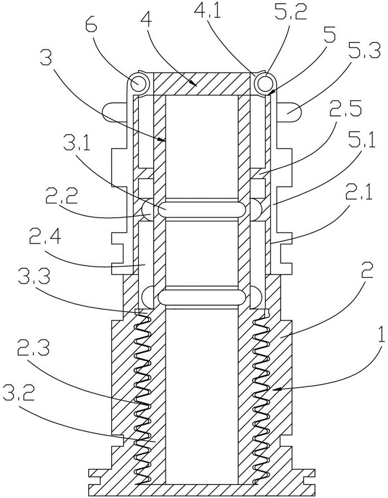
一种快速拆装阀套-爱企查
图片尺寸779x1000
解密宁波乡镇基层商会发展路径-新闻中心-中国宁波网
图片尺寸400x266
找到"宁波三峰机械电子股份有限公司"的相关结果86个_专利免费查询检
图片尺寸400x650
一种汽车转向系统用动力输出齿轮轴专利_专利查询 - 天眼查
图片尺寸1000x985