汽包结构

汽包结构图2
图片尺寸1406x997
汽包结构图2
图片尺寸1403x992
超详细的汽包内部结构图解 快来学习!
图片尺寸639x496
三,汽包结构汽包上装有多种水位计,压力表,事故放水门,安全阀等附属
图片尺寸359x510
汽包内部结构.jpg
图片尺寸1680x1050
锅炉汽包给水泵汽包的作用和结构图
图片尺寸1138x704
第五节 汽包内部装置示例
图片尺寸1080x810
锅炉汽包内部结构图解
图片尺寸640x492
汽包水位为什么一高一低?
图片尺寸500x340
锅炉汽包的结构介绍
图片尺寸640x447
以下是制硫余热锅炉汽包的结构图,生产4.
图片尺寸892x307
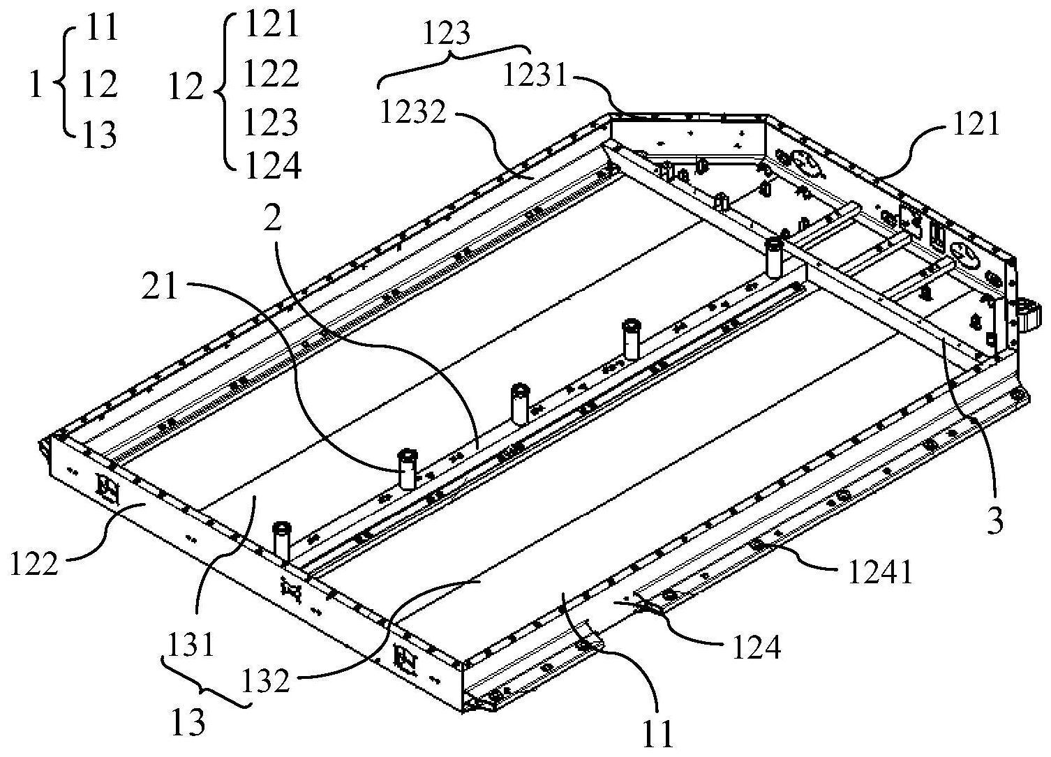
一种电动汽车电池包
图片尺寸980x1027
cn207334709u_一种新型余热锅炉汽包结构有效
图片尺寸377x338
锅炉双室平衡容器测汽包水位原理文书参照
图片尺寸920x1302
汽包工作原理.doc
图片尺寸794x1123
汽包工作原理.doc
图片尺寸993x1404
汽包结构和工作原理
图片尺寸920x690
dn1800分汽包
图片尺寸623x449
发电部2013年11月培训汽包的作用及构造
图片尺寸920x690
一种电动汽车电池包结构
图片尺寸1506x1085