汽车前轮罩板结构图

一种汽车前轮罩板的加工方法-爱企查
图片尺寸579x429
前轮罩总成制造技术
图片尺寸776x1000
适用于电动汽车的设有照明系统的车轮罩外板
图片尺寸1904x1576
前轮罩和车辆制造技术
图片尺寸1000x790
一种新型汽车前罩内板加强筋结构制造技术
图片尺寸1000x956
汽车前轮罩总成-爱企查
图片尺寸1397x839
cn103832487b_一种前侧围外板与前轮罩搭接结构有效
图片尺寸470x448
前轮轮罩前半部
图片尺寸820x578
汽车白车身左右前轮罩总成钣金改制
图片尺寸610x522
ofweek智能汽车网
图片尺寸842x409
卡车轮毂装饰罩汽车钢圈装饰盖
图片尺寸1023x1280![[学习] 请专家们来讲讲前轮悬架结构 - 汽车论坛](https://i.ecywang.com/upload/1/img2.baidu.com/it/u=4039158445,879445938&fm=253&fmt=auto&app=138&f=JPEG?w=667&h=500)
[学习] 请专家们来讲讲前轮悬架结构 - 汽车论坛
图片尺寸1000x750
外装饰件主要有:保险杆,挡泥板,车轮罩,导流板等;应用范围涉及汽车
图片尺寸772x496
而两车的前,后轮拱舱内的护板材质也基本是一样的,前轮内是树脂护板
图片尺寸955x1000
前轮罩衬板-爱企查
图片尺寸533x590
名爵hs的后轮拱采用了织物隔音罩,前轮拱采用了质地更硬的塑料材质,在
图片尺寸640x480
前轮罩上边梁外板焊接总成
图片尺寸820x625
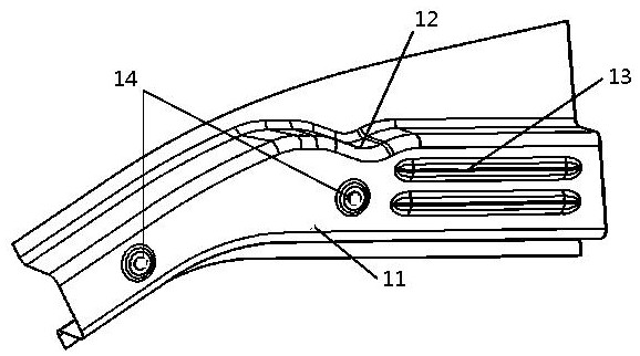
一种汽车前轮罩加强梁-爱企查
图片尺寸578x322
【图】你的车身安全耐操吗-车身介绍_青少年论坛_汽车之家论坛
图片尺寸700x472
元族适用大众波罗polo叶子板内衬前轮轮胎罩挡泥皮cross翼子板内衬
图片尺寸350x350