汽车天线结构

一种汽车天线的制作方法
图片尺寸1000x453
分别为数字接口板及结构件,屏蔽罩,发射单元及pcb以及雷达天线罩
图片尺寸1080x580
一种方便拆装的车载天线结构-爱企查
图片尺寸617x800
一种鲨鱼鳍汽车天线的制作方法
图片尺寸798x1000
cn201450095u_一种顶端发光汽车天线失效
图片尺寸1161x2337
本实用新型涉及车载天线结构的技术领域,具体为一种车载辅助驾驶型多
图片尺寸382x443
车载短波天线的制作方法
图片尺寸891x1000
丐1,丐2加装导航的xd们,天线的问题_奥迪q5论坛_爱卡汽车
图片尺寸760x1111
智能毫米波cv2x天线
图片尺寸2486x1333
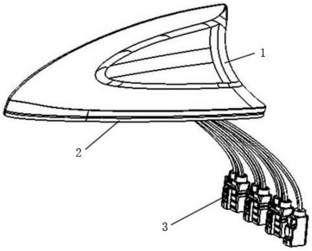
涉及汽车引出线缆的技术领域,尤其是涉及一种车联网用鲨鱼鳍式天线
图片尺寸1000x807
一种车载卫星天线装置的制作方法
图片尺寸1000x653
组合式车载鲨鱼鳍天线
图片尺寸1000x805
汽车线束重要吗技术性强吗有发展吗
图片尺寸840x534
车载动中通天线(s波段)
图片尺寸1708x1306
汽车用伸缩天线(1)
图片尺寸764x701
外观设计汽车天线(鲨鱼鳍)授权我要购买
图片尺寸1181x767
控制单元peps控制单元是整个系统的控制中心,主要功能有:驱动低频天线
图片尺寸796x604
日产天籁_teana_轿车线束资料_张凤山
图片尺寸2008x1242
智能天线终端样机3d模型智能天线终端内部结构本次车联网战略合作协议
图片尺寸813x514
汽车天窗和车顶结构
图片尺寸700x437