汽车头枕结构

蔚来es8头枕怎么拆卸-蔚来es8汽车头枕怎么取下来-汽车仪表网
图片尺寸586x340
厂家直销 批发汽车头枕 汽车靠枕 丹尼皮头枕 骨头枕竹炭皮头枕
图片尺寸640x363
别克汽车头枕护颈枕车用腰靠别克昂科旗昂科威s avenir艾维亚汽车内
图片尺寸790x1376
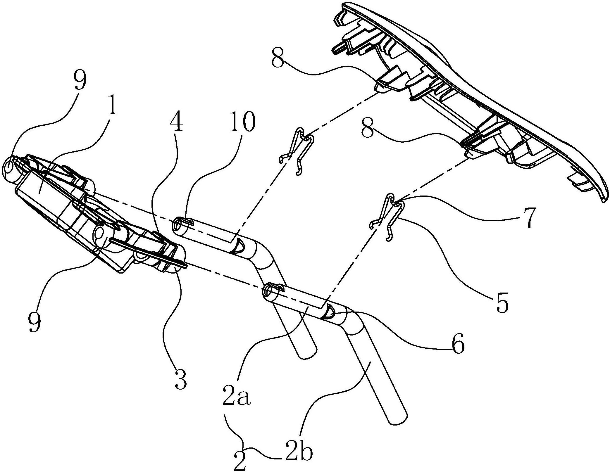
用于车辆座椅的头枕制造技术
图片尺寸942x1000
汽车用品儿童睡眠侧靠头枕车载枕头靠颈u型枕睡觉神器安全座椅捷频
图片尺寸790x407
这款汽车头枕腰靠闭眼入!别让开车出行成为负担,别买回 - 抖音
图片尺寸1280x1706
汽车头枕,靠垫.兄弟们~这款记忆棉车用靠枕,非常适合车用和车 - 抖音
图片尺寸1440x1924
泛尼汽车头枕腰靠护颈枕靠枕车内车载座椅靠背垫夏季脖子一对女黑色腰
图片尺寸350x350
q5l前排头枕拆装教程-爱卡汽车网论坛
图片尺寸1300x975
雪铁龙c6c4lc3xr汽车座椅头枕车载靠枕皮革颈枕内饰改装配件用品
图片尺寸800x800
驾天下汽车头枕腰靠别克凯越英朗威朗昴科威昴科拉君威君越车用颈枕
图片尺寸790x1232
适用理想l7l8l9one汽车头枕颈枕专用车载靠枕护脖枕同款套装
图片尺寸750x1161
雪佛兰乐风rv汽车座椅头枕车载靠枕皮革颈枕内饰改装配件用品
图片尺寸800x800
"这一对汽车头枕腰 - 抖音
图片尺寸1020x1360
这款汽车头枕车用靠枕是 - 抖音
图片尺寸1079x1919
汽车座椅头枕卡接结构-爱企查
图片尺寸2086x1615
cicido 夕多(cicido)汽车头枕对装车用护颈枕车载座椅靠背靠枕奔驰
图片尺寸400x400
乔氏(qiaoshi)汽车颈枕车载可调节头枕适用奥迪宝马奔驰保时捷
图片尺寸350x350
创京懿选汽车头枕车载侧睡汽车侧睡头枕颈枕开车用靠枕车内后排座经济
图片尺寸350x350
之前帮夕夕多旗舰店拍摄的一组头枕腰靠.#车品摄影 #汽车用品 - 抖音
图片尺寸1080x1620