汽车遮阳板结构

一种可折叠的汽车遮阳板_cn201821912898.x_知雀网
图片尺寸989x1000
一种新型汽车遮阳板结构
图片尺寸1000x918
所述的汽车遮阳板包括通过翻转阻尼结构与汽车的顶棚连接的遮阳板总成
图片尺寸1937x2288
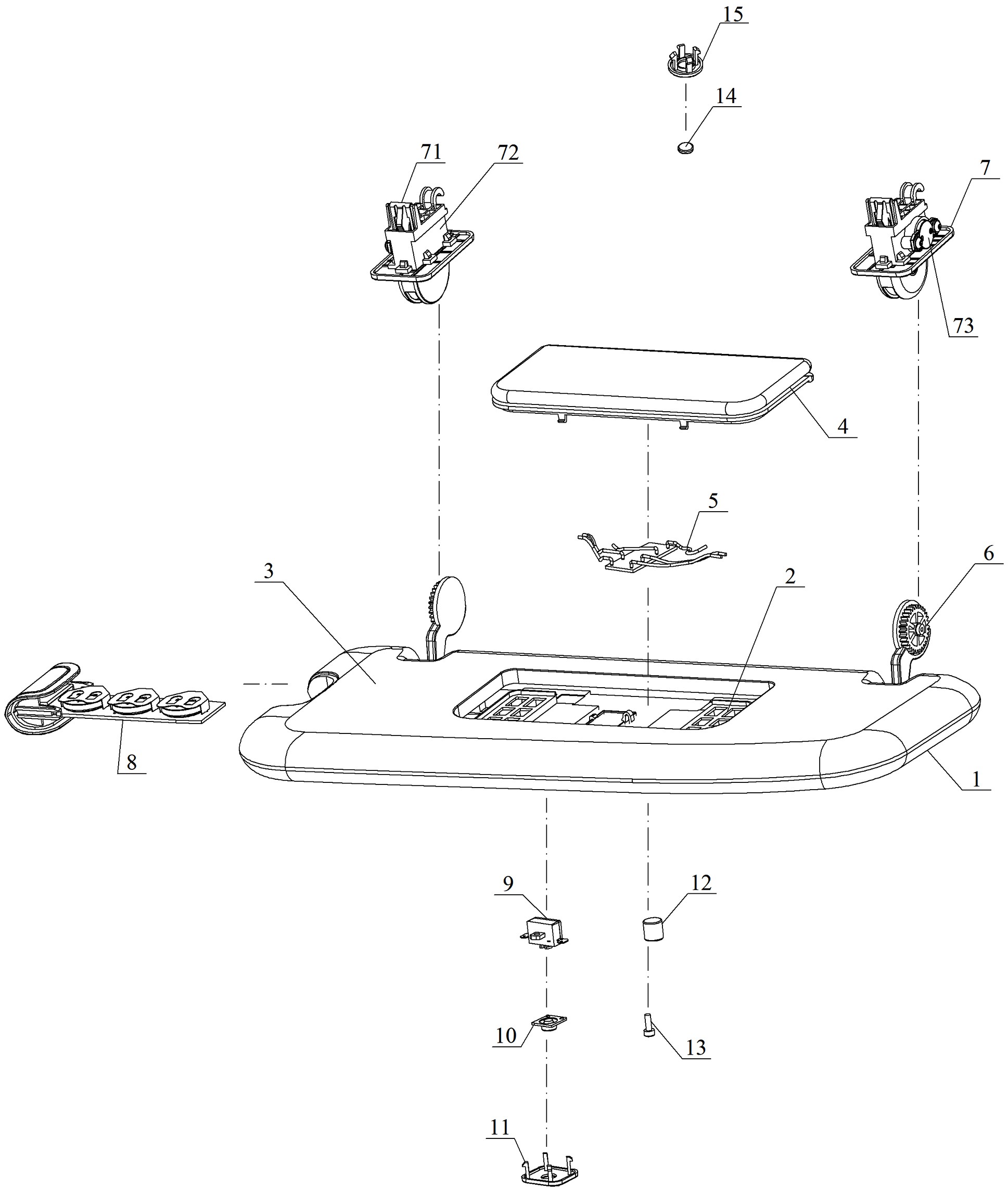
一种汽车遮阳板化妆灯电路板装配结构的制作方法
图片尺寸1000x544
奔驰宝马全系列遮阳板专营中心#陈田拆车件 #汽车配件 #遮阳 - 抖音
图片尺寸1920x1920
汽车化妆镜,遮阳板,汽车的制作方法
图片尺寸941x1000
我说我把宝马f30三系的遮阳板分解了,你们可能不信!拆开看才 - 抖音
图片尺寸1440x1920
背景技术:目前安装于车内顶棚上的遮阳板,一般为平板式结构,没有空间
图片尺寸1000x577
车辆遮阳板制造技术,汽车前遮阳板专利_技高网
图片尺寸1000x662
新奇骏拆解(3)车顶结构 锈迹斑斑的大新车!_搜狐汽车_搜狐网
图片尺寸1024x683
由于遮阳板设计,成型,结构及后期维护方便性等因素,对汽车起到遮阳
图片尺寸444x329
汽车遮阳板的制作方法
图片尺寸1000x805
一种汽车通用遮阳板的制作方法与工艺
图片尺寸1000x522
汽车遮阳板 防晒清凉档
图片尺寸1242x1660
一种带大镜面化妆镜的汽车遮阳板的制作方法
图片尺寸1000x598
遮阳板化妆镜盖开关装置-爱企查
图片尺寸1549x888
汽车的覆盖件可以全部使用塑料材质来替代金属么?
图片尺寸655x711
cn112208311a_一种汽车遮阳板在审
图片尺寸1582x1186
一种车用全景可折叠式天窗遮阳板
图片尺寸1938x1586
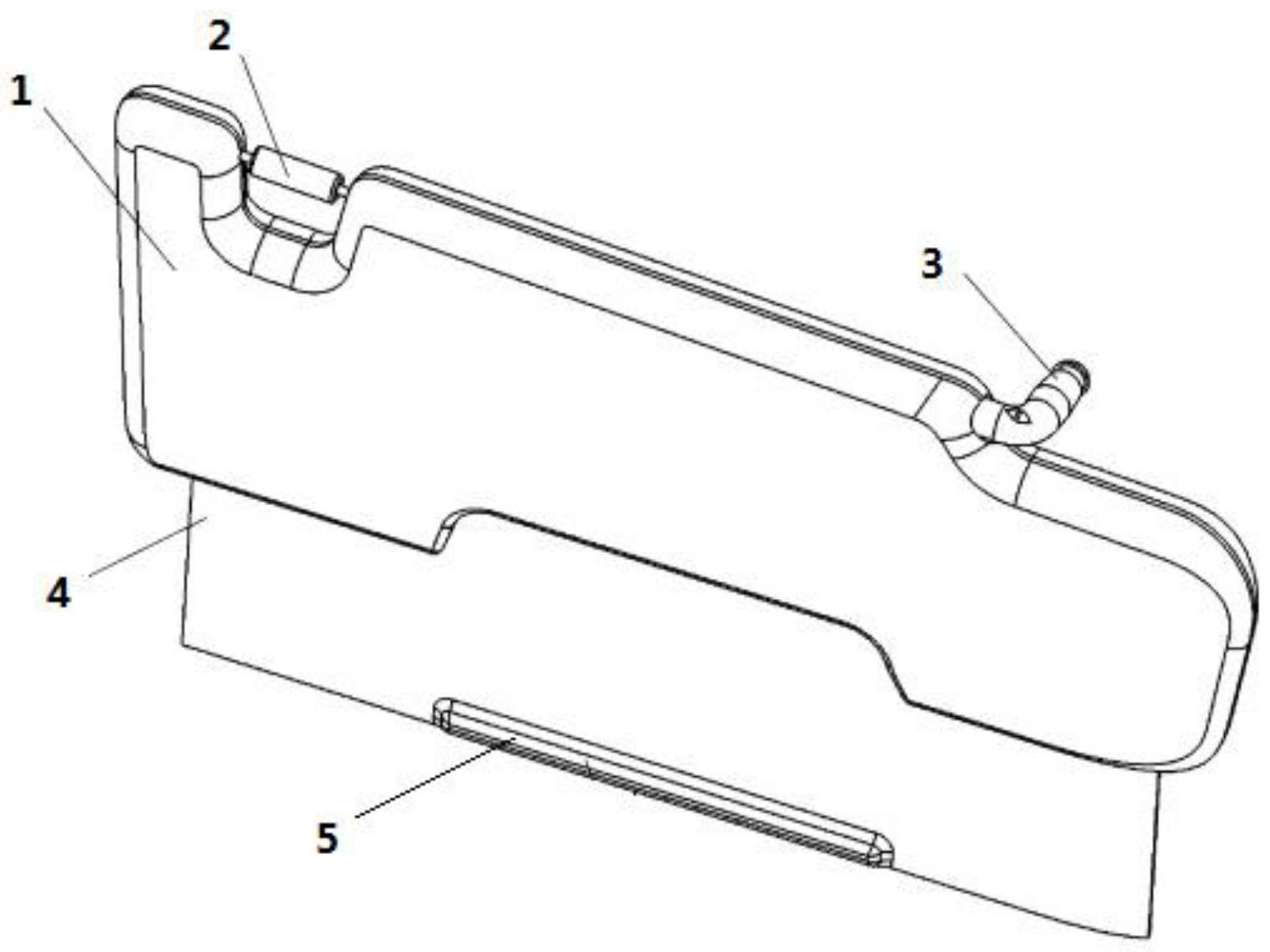
cn213472739u_遮阳板结构及汽车有效
图片尺寸1872x1196