汽车门把手结构图

cn206816018u_一种汽车车门把手有效
图片尺寸1000x725
cn102325951b_汽车门把手失效
图片尺寸1000x663
一种隐藏式汽车门把手的制作方法
图片尺寸846x984
【图】凌风冒雪的考验 隐藏式门把手能过冬?_汽车之家
图片尺寸744x901
一种隐藏式汽车外门把手制造技术
图片尺寸941x1000
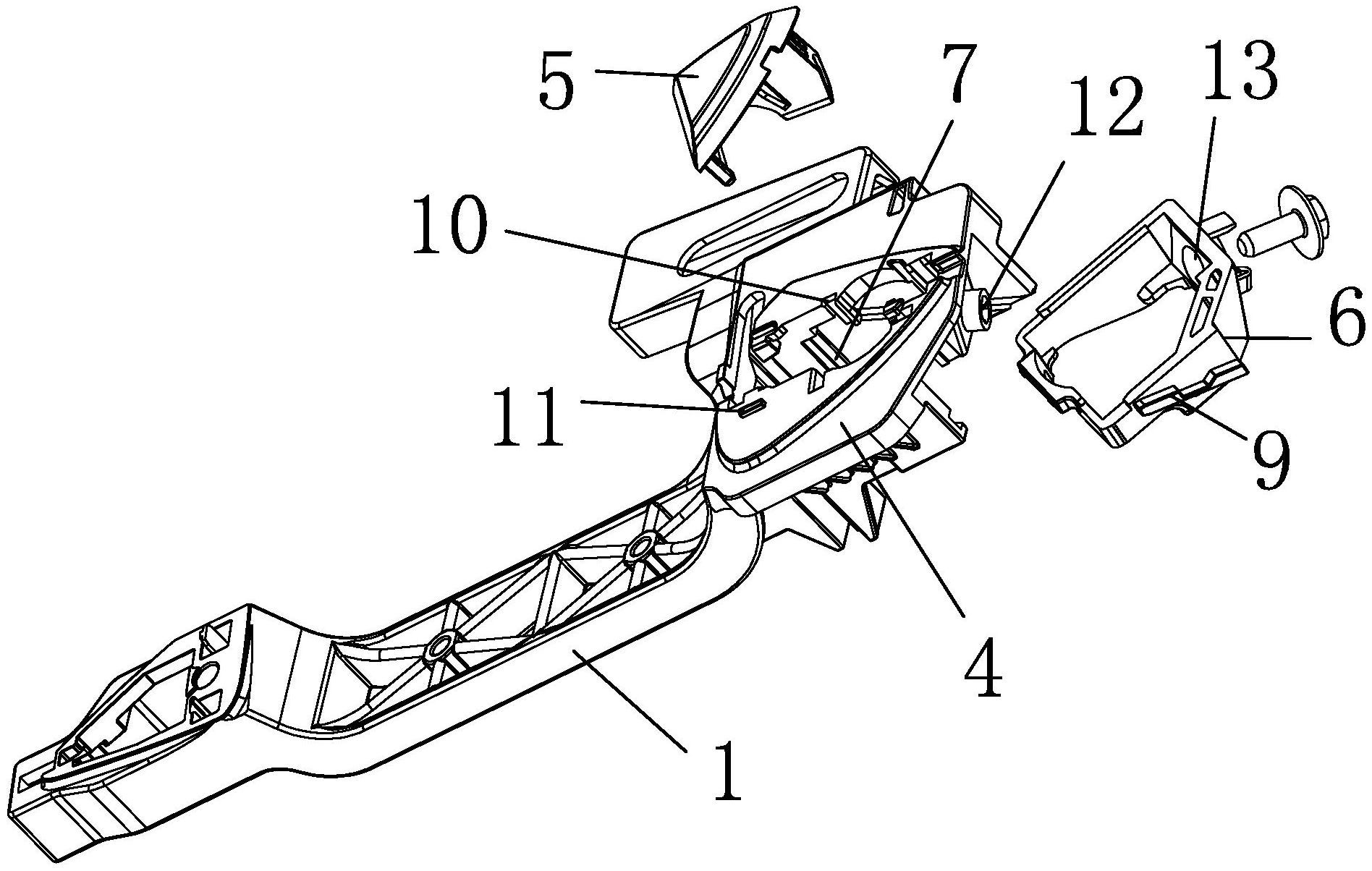
x一种汽车门把手结构-爱企查
图片尺寸1870x1034
一体式汽车外拉门把手
图片尺寸1000x979
一种汽车门把手的制作方法
图片尺寸1000x842
一种隐藏式汽车门把手的制作方法
图片尺寸443x426
cn212176866u_带有锁芯装饰罩的一体式汽车门把手有效
图片尺寸961x1000
【图】凌风冒雪的考验 隐藏式门把手能过冬?_汽车之家
图片尺寸744x666
一体式车门拉手的制作方法
图片尺寸1000x772
一种上掀式汽车外门把手的制作方法
图片尺寸1000x843
cn212376475u_一种无缝汽车门把手有效
图片尺寸1896x1204
cn201756837u_一种汽车门把手有效
图片尺寸800x630
一种上掀式汽车外门把手
图片尺寸1000x840
一种锁芯罩方便拆卸的汽车车门把手
图片尺寸2009x1839
车辆门把手及车辆的制作方法
图片尺寸789x1000
一种感应式汽车门把手-爱企查
图片尺寸800x409
一种汽车车门拉手结构的制作方法
图片尺寸1000x719