汽轮机低压缸结构图

气缸结构
图片尺寸637x507
优化引进型300mw机组汽轮机高中压内外缸蒸 汽冷却(加热)系统结构
图片尺寸1080x810
汽轮机低压缸扣缸检修动画
图片尺寸1080x661
一种凝汽式汽轮机低压缸效率的计算方法
图片尺寸2035x1111
气缸结构图
图片尺寸893x1263
核电汽轮机低压缸检修平台的制作方法
图片尺寸1000x605
所有分类 it/计算机 计算机软件及应用 气缸简介ppt 典型气缸的结构和
图片尺寸1080x810
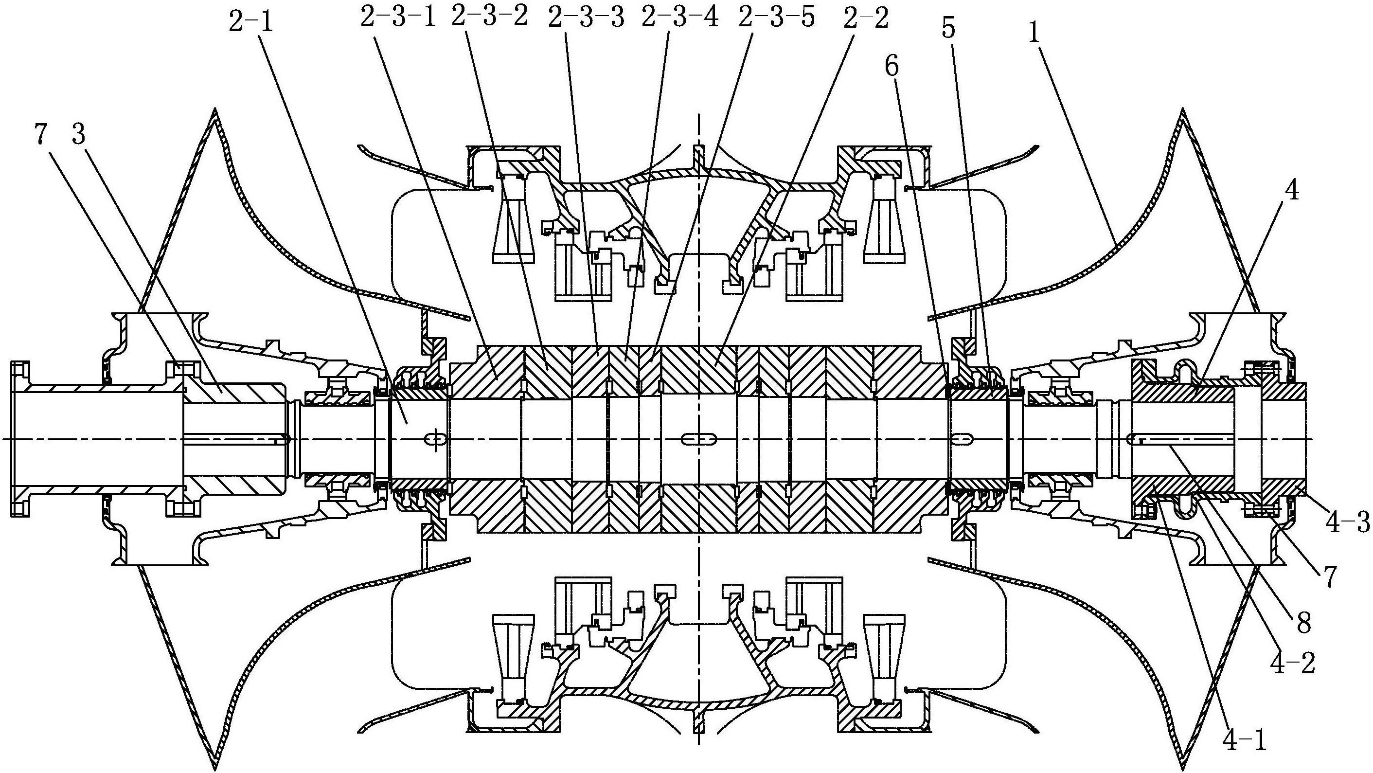
一种具备低压缸零出力的三蜗壳350mw超临界汽轮机
图片尺寸1179x2667
液压缸的典型结构有哪些
图片尺寸658x440
smc气缸是铸造而成的,汽缸出厂后都要经过时效处理,就是要存放一些
图片尺寸700x454
气缸工作原理图
图片尺寸500x308
第二节 典型液压缸结构ppt
图片尺寸1080x810
免费文档 所有分类 工程科技 机械/仪表 气压缸结构图——4种 第3页
图片尺寸703x396
现货专卖cj2b1610smc标准单作用气缸直销
图片尺寸689x461
气缸的基本组成部分及工作原理 带阀组合气缸的结构和工作原理 带阀
图片尺寸1080x810
气缸的工作原理及详细介绍ppt课件
图片尺寸920x690
液压缸的典型结构
图片尺寸1080x810
光轴转子上带有联轴器液压螺栓的汽轮机低压缸-爱企查
图片尺寸2823x1589
超超临界1000mw凝汽式汽轮机 低压缸纵剖图 低压缸双层缸双分流结构
图片尺寸1080x810
汽轮机低压缸轴向间隙测量位置在哪里
图片尺寸643x384