沉降池简画

一种用于生活污水处理中的沉降池
图片尺寸1214x1521
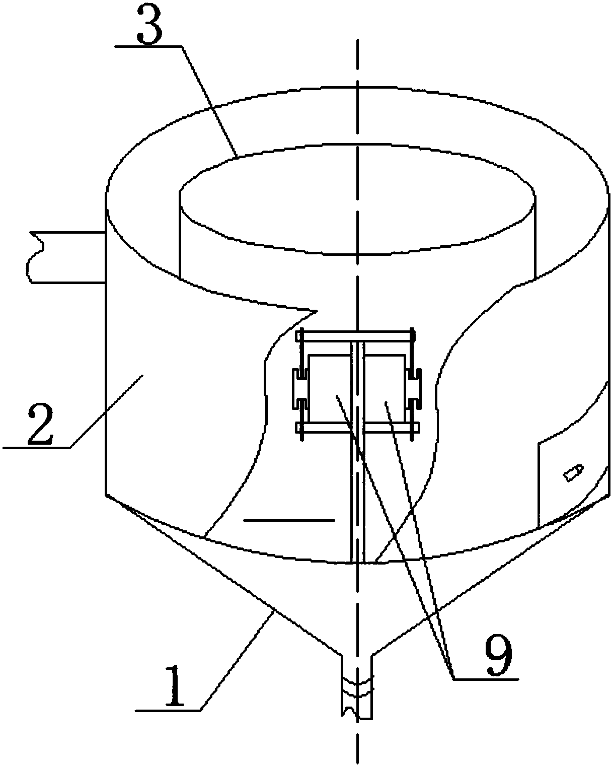
一种石油化工废水处理用高效沉降池
图片尺寸1000x682
一种市政污水沉降池-爱企查
图片尺寸2092x1757
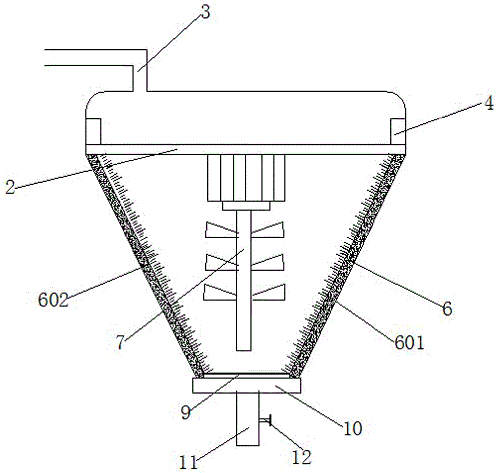
一种石油化工废水处理用高效沉降池的制作方法
图片尺寸1000x682
6市政污水沉降池一键寄售
图片尺寸1000x891
一种混凝土污水沉降池的制作方法
图片尺寸444x253
一种高浓度废水处理的混凝沉降池的制作方法
图片尺寸704x1000
一种用于污水处理的沉降池-爱企查
图片尺寸2092x1597
cn212974440u_一种漏斗式污水处理沉降池有效
图片尺寸1000x950
o型高效沉降池 - cn97225497.
图片尺寸800x611
一种污水处理用沉降池的制作方法
图片尺寸485x495
一种免清洁废水沉降池的制作方法
图片尺寸462x490
用于电镀污水处理的沉降池的制作方法与工艺
图片尺寸1000x872
cn100571837c_一种带多层沉降板的辐流式沉淀池失效
图片尺寸1416x947
一种市政污水沉降池的制作方法
图片尺寸444x392
高浓度废水处理的混凝沉降池
图片尺寸470x610
一种处理高浓度重金属工业污水的沉降池的制作方法与工艺
图片尺寸466x383
一种处理高浓度重金属工业污水的沉降池制造技术
图片尺寸516x383
高浓度废水处理的混凝沉降池
图片尺寸478x286
高浓度废水处理的混凝沉降池
图片尺寸1904x1773