沙漠空滤器原理图

更换空气滤芯,就是这么简单!
图片尺寸500x314
htzk-225-脉冲自洁式空气过滤器
图片尺寸2320x1448
smc过滤器af30系列结构原理图
图片尺寸486x724
机油滤清器的这些信息你应该知道!
图片尺寸494x304
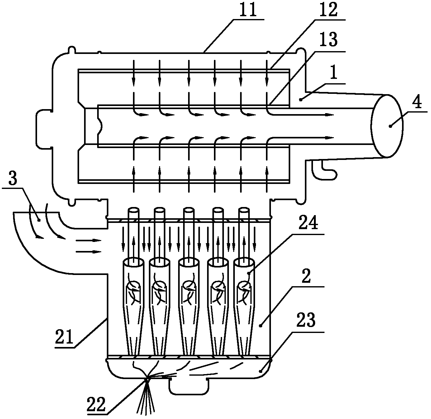
cn202370707u_沙漠双级空气滤清器总成有效
图片尺寸1384x1344
沙漠空滤预滤装置采用离心原理,气流通过旋流叶片时,形成向下的旋流
图片尺寸700x907
广泛用于各种水处理的预处理系统和饮用水净化系统,机械过滤器也称
图片尺寸750x569
五,高效真空滤油机设备选型型 号lyc-30zlyc
图片尺寸724x424
器结构原理图从输入口流入的压缩空气经旋风叶片的导流后形成旋转气流
图片尺寸450x695
发动机空气过滤器,汽车发动机空气滤清器
图片尺寸338x225
空气过滤器的工作原理
图片尺寸341x475
泥沙过滤器
图片尺寸200x157
过滤器操作手册
图片尺寸420x460
各种过滤器的原理及结构
图片尺寸1411x1177
proseries侧置式沙缸过滤器
图片尺寸750x440
沙漠空滤器 实用新型 面议
图片尺寸1890x1925
2,工作原理 含尘空气在空气压缩机吸气
图片尺寸500x320
空气净化器
图片尺寸596x512
空气过滤器的结构原理
图片尺寸798x1174
过滤器-供丰华自洁式空气过滤器,脉冲反吹空气过滤器,空气过滤器-过滤
图片尺寸349x250