沙盘简笔画

沙盒与玩具卡通
图片尺寸1200x998
一种多媒体互动电子沙盘
图片尺寸1813x1496
沙盒_操场_象征_轮廓_风格_白色背景_矢量_插画_高清图片_全景视觉
图片尺寸670x670
沙漠沙盒场景练习左滑步骤
图片尺寸1080x1169
沙盒卡通风格
图片尺寸1200x600
沙盒
图片尺寸256x256
数字沙盘是通过声,光,电,图像,三维动画以及计算机程控技术,运用数字
图片尺寸443x407
一种数字化投影沙盘的制作方法
图片尺寸444x359
一种可机械旋转的沙盘模型
图片尺寸2023x2104
数字化全息影像沙盘制造技术
图片尺寸731x1000
一种建筑沙盘模型及其制作工艺的制作方法
图片尺寸443x334
一种易于成型的心理沙盘的制作方法
图片尺寸1000x732
无人驾驶实验室沙盘的制作方法
图片尺寸1000x634
沙盘诞生中
图片尺寸1080x811
一种可机械旋转的科技馆展示沙盘模型的制作方法
图片尺寸1000x978
微缩模型战争沙盘设计
图片尺寸2377x1547
一种房屋规划设计模型沙盘的制作方法
图片尺寸444x328
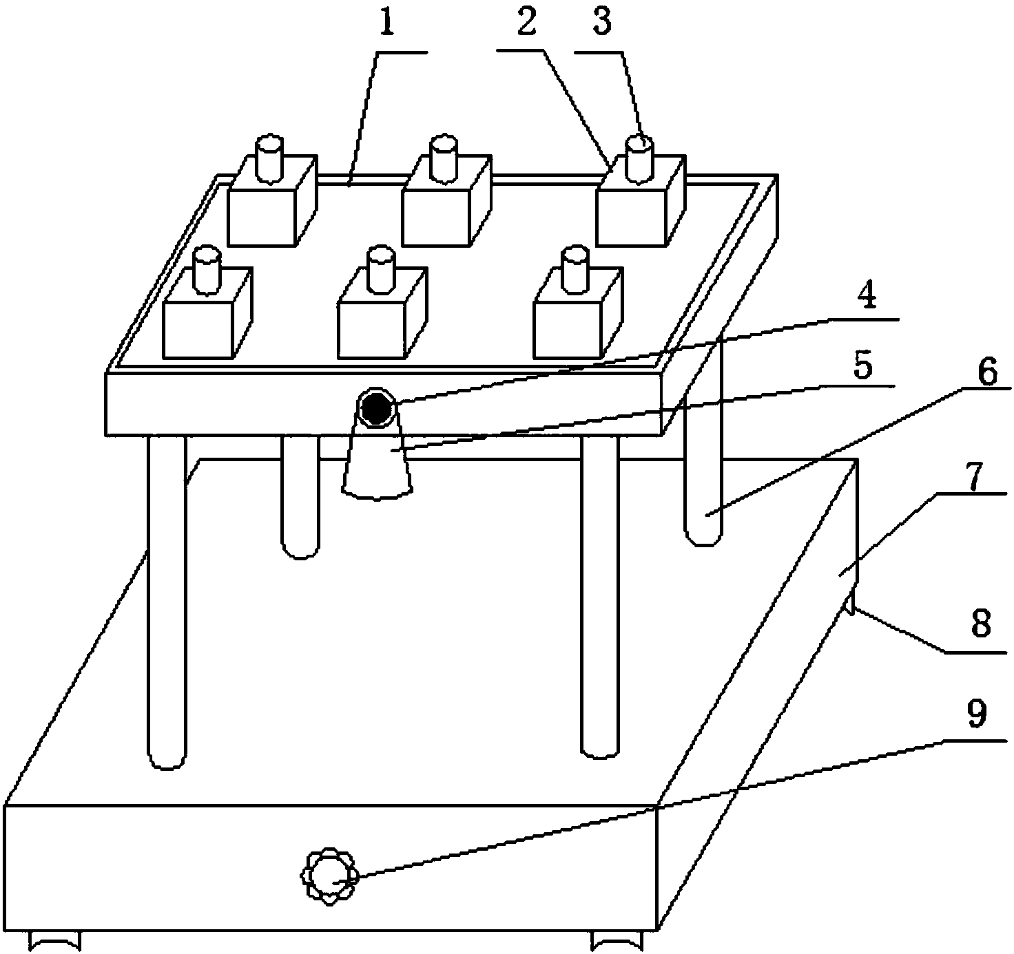
一种市场营销用教学沙盘
图片尺寸1472x1386
市场营销教学沙盘的制作方法
图片尺寸1000x328
一种科技展示厅用电子沙盘的制作方法
图片尺寸1000x840