油封唇口朝向

注意密封唇口朝向
图片尺寸1440x2560
压力机油封的安装方向是密封唇朝向密封介质侧
图片尺寸1080x1440
破壁机油封开口的朝向对于其密封效果
图片尺寸1080x1920
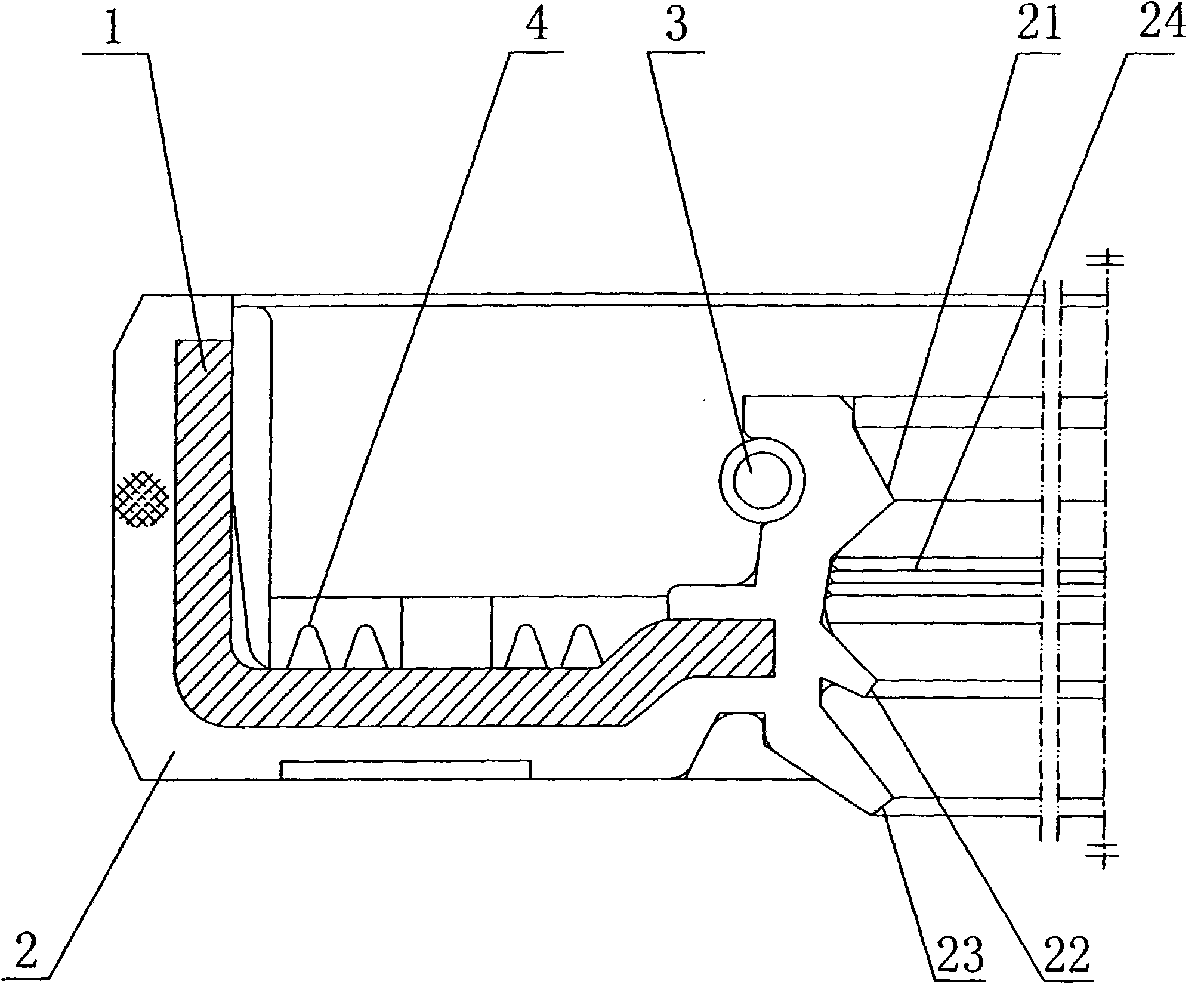
NOK单唇口外骨架油封AB0145E0AB0147F0AB0260E0AB0382E0AB0478EO
图片尺寸1920x1920
油封唇口的朝向主要取决于其应用的具体需求.以
图片尺寸1080x1920
90%的漏油都因为它!油封唇口方向你装对了吗?
图片尺寸1080x1920
由于密封唇口非常的脆弱,在安装油封之
图片尺寸1024x558
油封唇口的安装方向
图片尺寸531x305
tc骨架油封唇口表面涂氟低摩擦性
图片尺寸1440x1920
不锈钢油封 a型单唇口 b型双唇口 c型一正一反
图片尺寸600x800
油封平面朝里还是朝外
图片尺寸500x661
双骨架油封的正确安装方向通常是让双唇朝向
图片尺寸1080x1920
东晟不锈钢a型油封 耐高温空压机单唇旋转密封件机器人密封圈定制
图片尺寸750x1765
不锈钢油封耐干磨尺寸黄色唇片
图片尺寸750x750
单唇与双唇油封:哪种更适合你?
图片尺寸1213x2170
油封唇
图片尺寸600x283
油封双唇型单唇型
图片尺寸1710x1091
cty同源骨架油封 螺纹三唇口氟橡胶进口橡胶密封圈耐高温电机油封
图片尺寸1134x1134
ptfe oilseal 不锈钢油封 四氟油封 空压机油封
图片尺寸2160x2880
转向器输出端双向密封的三唇油封
图片尺寸2018x1649