油封图纸

柴油机厂家油封加工外协
图片尺寸589x604
dc内包骨架油封图下载(71.51 kb,dwg格式) 机械cad图纸
图片尺寸1158x806
求机械密封的cad装配图纸一张,做展示用.
图片尺寸1840x3264
外包骨架油封尺寸系列
图片尺寸714x295
cn201100399y_石油圆弧齿轮减速器专用油封失效
图片尺寸1381x1491
一种具有储漏及回泵功能的车用旋转油封制造技术
图片尺寸791x1000
油封加工定制 图纸,4款,年采购数量200000pcs,按配套品质开模生产
图片尺寸615x866
油封tc
图片尺寸972x599
多唇口多弹簧自润滑油封
图片尺寸1628x1125
发动机后油封压装工具-爱企查
图片尺寸456x416
油封机构制造技术
图片尺寸795x1000
油封cad图纸
图片尺寸708x528
a3-飞轮油封盖.dwga3-正时惰轮m=2 z=30 左旋.
图片尺寸1122x793
tc双唇骨架油封-trq radial oil seal-东莞市华乐密封技术开发有限
图片尺寸888x369
意大利gnl品牌 df型浮动油封df2050
图片尺寸1459x1200
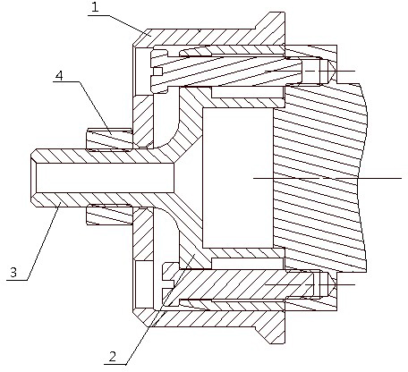
一种骨架油封安装结构-爱企查
图片尺寸1076x1073
骨架油封图纸
图片尺寸577x389
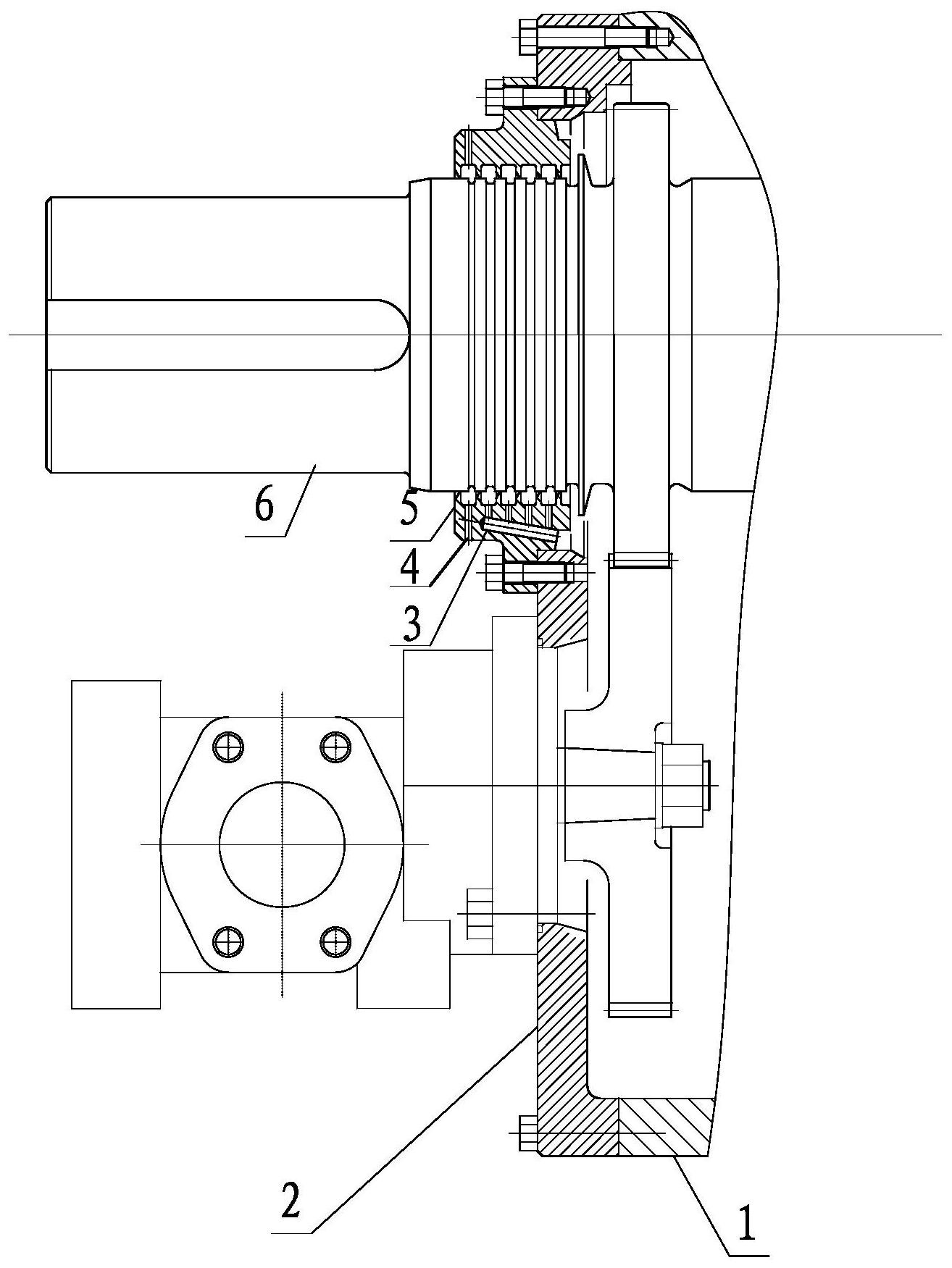
一种骨架油封安装结构制造技术
图片尺寸1000x997
汽车车桥旋转轴唇形油封密封圈结构分类?
图片尺寸939x404
一种高速离心风机的迷宫式油封结构
图片尺寸1314x1751