油封的详细图纸

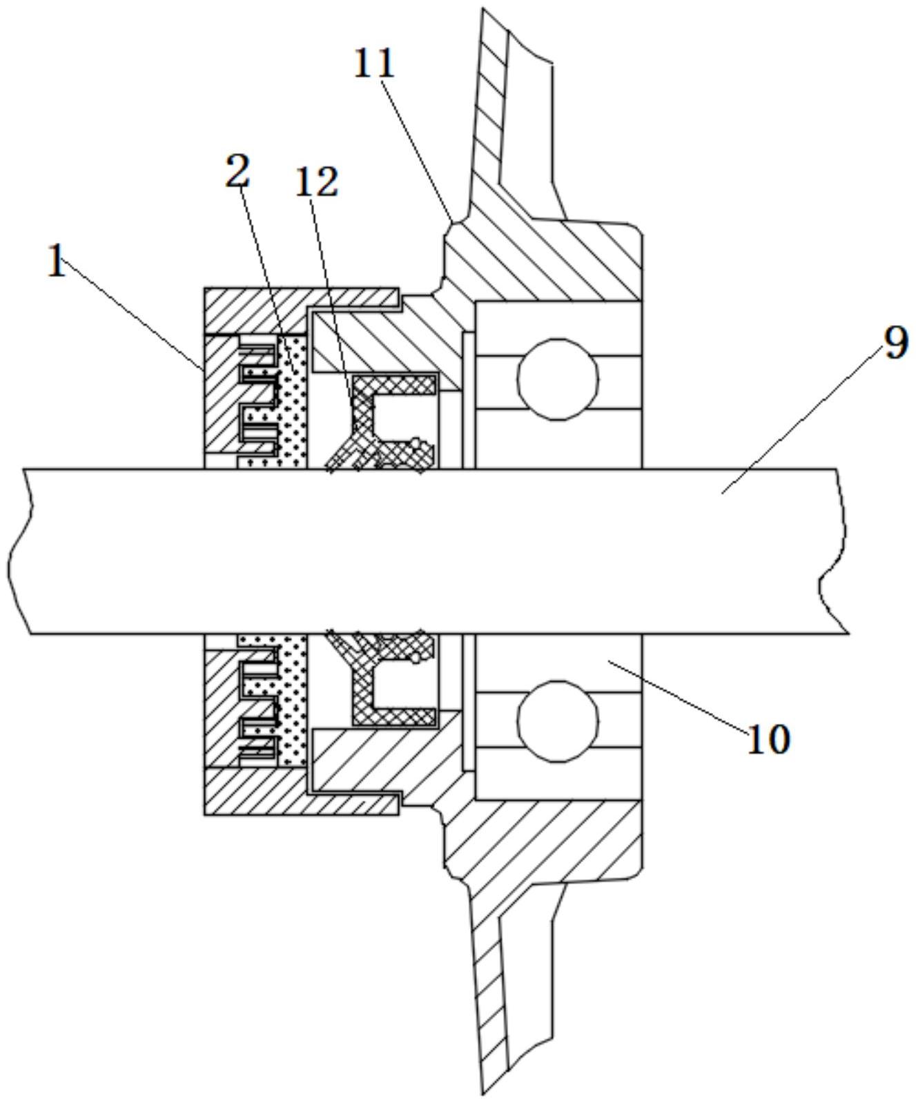
一种装配型防泥水油封的制作方法
图片尺寸1621x1750
一种骨架油封安装结构-爱企查
图片尺寸1076x1073
采购信息内容 柴油机厂家油封加工外协,按我司图纸生产,我们是主机厂
图片尺寸589x604
机械基础理论(一):油封
图片尺寸519x706
骨架油封结构及选型
图片尺寸713x282
机械基础理论(一):油封
图片尺寸958x455
有油封需要了解的敬请联系. 我们是油封厂家.不起运营和平台.
图片尺寸2274x1280
b9912060毡圈油封pdf
图片尺寸800x1132
一种电动车轮毂电机的油封防尘结构
图片尺寸1327x1598
一种骨架油封结构的制作方法
图片尺寸302x444
机械制图中油封怎么画?
图片尺寸647x512
油封sc - 热门商品专区
图片尺寸972x599
风电齿轮箱 mark>密封 /mark> mark>件 /mark>之骨架油封——安维士
图片尺寸744x455
一种可反复拆装使用的轮毂油封结构的制作方法
图片尺寸917x1000
cn201100399y_石油圆弧齿轮减速器专用油封失效
图片尺寸1381x1491
一种农机耐泥水车桥油封的制作方法
图片尺寸443x388
一种正压防爆电机油封的制作方法
图片尺寸440x443
一种油封安装工装的制作方法
图片尺寸443x319
一种骨架油封压装结构
图片尺寸1283x1488
多唇口多弹簧自润滑油封
图片尺寸1628x1125